中信网首页
|
园地
|
论坛
|
鸽问
|
商城
|
拍鸽
|
APP
|
鸽圈
|
帮助
|
会员区
中
信
网
进入词条
搜索词条
手机版
中信网
百科首页
词条分类
荣誉会员
我的百科
百科公告
百科规则
百科帮助
鸽事百科
图片浏览
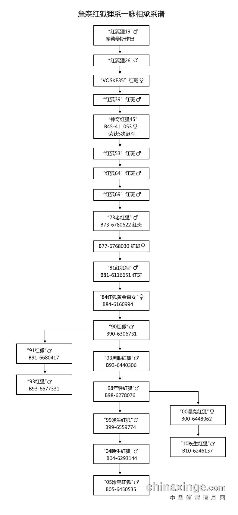
冠军狐狸
詹森红狐狸鸽系谱
(2/2)
返回词条
冠军狐狸
此图片由
minhang
贡献
首页
│
关于我们
│
推广方式
│
客服中心
│
在线反馈
│
网站导航
│
APP下载
Copyright
©
2000-2026 ChinaXinge.com All Rights Reserved
中国.深圳 电话:0755-28156678、28156809 传真:0755-28156678
《中华人民共和国增值电信业务经营许可证》
ICP证编号:粤B2-20040374号
粤公网安备 44030902002110号