2月23日,宁夏两家公棚纷纷打响春赛第一关,吹响了冲锋的号角。1.7万羽赛鸽带着主人的期盼,翱翔在蓝天之下,誓要争出一份响亮的荣誉。
宁夏国力春棚首关300公里比赛,在甘肃省宁县开笼,开笼时间8:25。本次共集鸽9276羽,参考空距306.67公里。直播链接>>
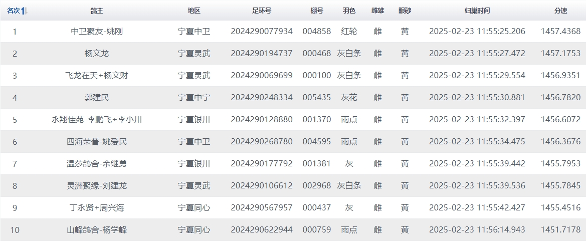
赛鸽们打钟迅速。11:55,大批赛鸽开始归巢,前百名在5分钟内归巢完毕。前三名的竞争更是激烈:取得首位的是中卫聚友-姚刚的2024290077934,飞行分速1457.4368米/分,这是一羽黄眼红轮,以0.2秒的时间优势险胜;亚军是杨文龙的2024290194737,打钟分速1457.1753米/分,季军飞龙在天+杨文财的2024290069699,飞行分速1456.9351米/分。截至2月24日早9点,共有七成赛鸽归巢,6700多羽赛鸽已经安全回家,其余赛鸽仍在归巢中。
宁夏君翼赛鸽公棚(春棚)首关300公里比赛,在甘肃正宁县宫河镇早8:35开笼,集鸽8400羽,参考空距300.1公里。直播链接>>
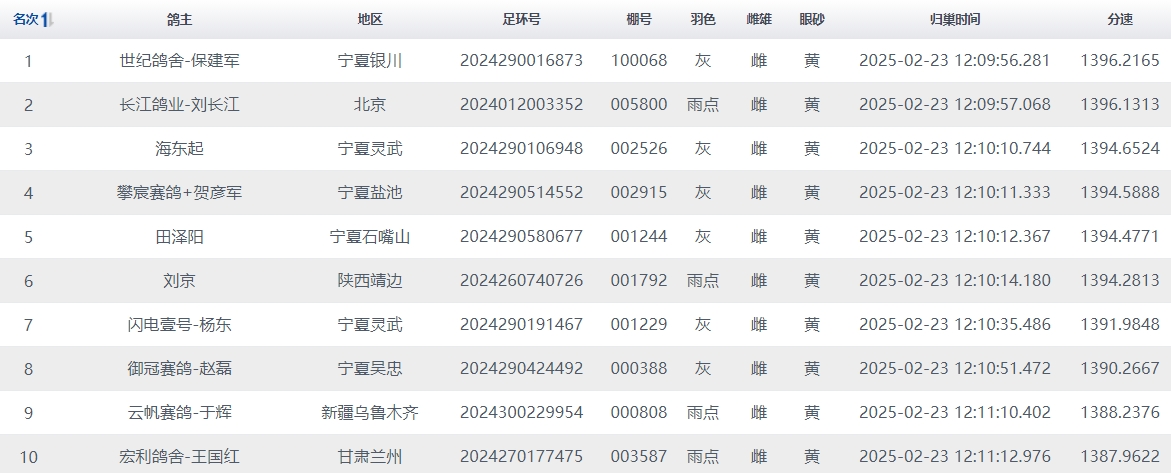
12:09,两羽赛鸽率先打钟,分别是世纪鸽舍-保建军的2024290016873黄眼灰鸽,分速1396.2165米/分;以及长江鸽业-刘长江的2024012003352黄眼雨点,分速1396.1313米/分。这两羽赛鸽分别拿下冠亚军。季军获得者是海东起的2024290106948,分速1394.6524米/分。截至2月24日早9点,共有七成赛鸽归巢,5900多羽赛鸽已经安全回家,其余赛鸽仍在归巢中。

宁夏国力春棚首关300公里

宁夏国力春棚首关300公里

宁夏国力春棚首关300公里

宁夏君翼赛鸽公棚(春棚)首关300公里

宁夏君翼赛鸽公棚(春棚)首关300公里

宁夏君翼赛鸽公棚(春棚)首关300公里













