3月23日上午7点26分,陕西朋悦首届春决赛在山西灵石县开笼,共计3533羽小将迎风而上,开启480公里逆风挑战!来看看天气如何:本关比赛开笼后,一路侧顶风。前半程风力为2级左右,过9点后中后半程风力加大,风力达到3-4级。沿途赛线多云转晴,平均温度4-17度。本关参考分1150米/分,预祝大家取得好成绩。
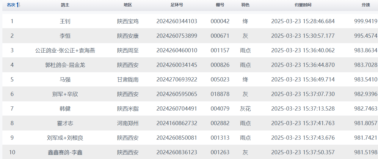
15点28分46秒见鸽,首羽归来。夺得第一的是王钊名下的2024260344103绛鸽,分速为999.9419米/分。2分钟后,李恒的2024260753899 000671灰鸽归来,以995.4574米/分的速度获得亚军。之后,公正鸽业-张公正+袁海燕旗下2024260460010雨点摘得季军,分速为983.8634米/分。
按规程:480公里第四关录取前900名,前三名依次奖励50万、30万、15万,尾奖1万。第四关赛采用易碎贴封环,封环如有破损,取消成绩及获奖资格,获奖名次下移。第四关决赛报到有效期,从第一羽赛鸽归巢后至次日日落时间后半小时止(省会城市日落时间延长30分钟止)。
















