4月26日河南郑州,数十辆鸽车排开,浩大的声势展示了这场比赛的不同寻常——这是2025年第25届信鸽国家赛郑州赛区的比赛。作为规模最大、参赛人数最多的大型比赛,赛程涵盖300-1000公里短、中、长距离多个比赛距离,郑州国家赛每年都是鸽届顶流。
5点56分,裁判长一声令下顺利开笼。本次大赛有二十多家信鸽协会参加,总集鸽数24849羽赛将展翅高飞。各赛区按赛事级别进行总排名,录取前100名获奖,前三名颁发中国信鸽协会竞赛奖牌,获奖鸽均颁发中国信鸽协会奖状。
各协会集鸽详情:
蚌埠市信鸽协会473羽、合肥市信鸽协会367羽
南京市信鸽协会2732羽、无锡市信鸽协会666羽
徐州市信鸽协会644羽、常州信鸽协会1057羽
南通市信鸽协会2993羽、连云港市信鸽协会994羽
淮安市信鸽协会983羽、盐城市信鸽协会1444羽
扬州市信鸽协会2049羽、泰州市信鸽协会2210羽
宿迁市信鸽协会2521羽,山东省信鸽协会1760羽
中国火车头体育协会91羽、杨凌信鸽协会538羽
宝鸡市信鸽协会520羽、天津市信鸽协会1409羽
中国石油体育协会12羽、沧州市信鸽协会534羽
石家庄市信鸽协会252羽、武汉市信鸽协会600羽
预祝此次大赛圆满成功!
归巢消息:根据直播平台显示,中午前后,江苏省400-500公里级别开始陆续见鸽归巢,飞行分速1100米/分-1200米/分。
600、700公里及以上级别,在16点过后迎来赛鸽报到,江苏南通700公里级别,部分协会、俱乐部当日未见鸽,在开笼第二天4月27日归巢,分速普遍在900-1000米/分级别。
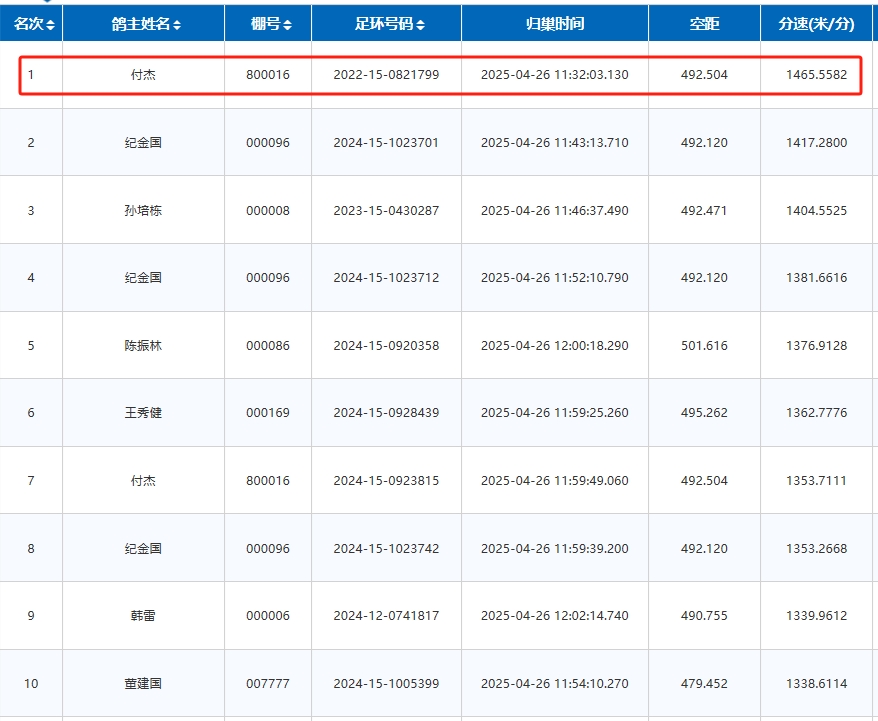
目前,分速最高的是山东滨州博兴龙飞俱乐部归巢的冠军鸽付杰,赛鸽环号2022-15-0821799,归巢时间11:32,飞行空距492.504公里,分速1465.5582米/分。
南通市区冠军、亚军都由鸽友朱健一人获得,冠军赛鸽足环2023-10-0351581,飞行空距729.800公里,飞行分速1034.4031米/分。
山东滨州博兴龙飞俱乐部前十

南通市冠军、亚军获得者 朱健



开笼现场
















