蝉鸣骤起,已是暑气蒸腾的六月初,夏赛正如火如荼地展开。6月5日,福建泉州四鸽会同日在浙江温州开笼,1.8万羽小将振翅而飞,给初夏的天空带来一场跨越山海的激情竞速。
6月5日早晨6时整,福建泉州丰泽信鸽协会春北四关第二关准时开笼,5478羽赛鸽振翅而飞,司放地为温州市龙湾区,参考空距400公里,天气晴,气温21℃-29℃,东风1-3级。比赛直播>>
与此同时,福建泉州飞龙赛鸽俱乐部2025年春北四关第二关比赛也开始了激烈的角逐,5622羽赛鸽从司放地温州平阳启程,向着398公里外的巢穴发起冲击,天气晴。比赛直播>>
福建泉州市泉港区的赛事同样精彩纷呈。早晨6时10分,泉港区实华赛鸽俱乐部25实华杯春夏四关第一关比赛正式开笼。司放地温州瑞安,上笼2168羽赛鸽,司放地天气晴,参考空距356.206公里。比赛直播>>
早晨6时整,泉港区信鸽协会2025联盟杯春北四关第一关开笼,5433羽赛鸽于温州乐清司放,参考空距417.395公里,天气晴。比赛直播>>
一时间,温州天空中满是赛鸽矫健的身影,四家鸽会共计放飞18701羽赛鸽,但温州至泉州的赛线颇具挑战性,这条赛线串联山地、丘陵、平原、海洋等多元地貌,气流、气候随地形切换复杂多变,期待小将们早日归巢。
仅仅过去四个半小时,四家鸽会大批赛鸽已归巢。
丰泽信鸽协会冠军:冠宇赛鸽-倪丁宁的25春-0143690于10时25分归来,飞出1563.9327米/分的高分速,拿下冠军宝座,实际空距415.166公里。截至上午10时45分,已归巢1256羽赛鸽。
飞龙赛鸽俱乐部冠军:鸽友高建民的25北四-0075493于10时22分顺利归巢,分速1499.3782米/分,实际空距1499.3782公里。截至上午10时45分,已归巢571羽赛鸽。
泉港区实华赛鸽俱乐部冠军:鸽友骆松山的25实华杯-61413于10时10分踩钟报到,分速1536.7562米/分,实际空距368.885公里。截至上午10时45分,已归巢1216羽赛鸽。
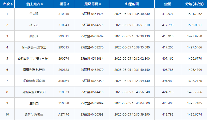
泉港区信鸽协会冠军:鸽友黄克强的25联盟-0461924于10时35分报进,分速1521.7962米/分,实际空距419.527公里。截至上午10时45分,已归巢394羽赛鸽。
开笼瞬间



赛线图
















