6月21日时值夏至,是一年之中昼最长夜最短的日子,也是夏季赛鸽竞翔的好时机。今日,福建夏赛战火继续,莆田赛鸽俱乐部与福建泉州市泉港区实华赛鸽俱乐部两场大赛拉开序幕。
早晨5时21分,莆田赛鸽俱乐部2025夏季预赛开笼放飞,3096羽莆田小将振翅而起,向着西南方向的家飞驰而去,参考空距365公里。比赛数据直播>>
早晨6时整,泉港区实华赛鸽俱乐部第二关也开笼放飞,1987羽泉州小将向着终点发起冲击,竞速蓝天,参考空距408公里。比赛数据直播>>
两家俱乐部共集鸽5083羽,司放地都为乐清市。司放地天气多云,气温25-33℃。从赛线来看,这是一条非常标准的沿海赛线,陆地与海洋交错,会有海上大风干扰,对赛鸽的定向能力有很高的要求。今天沿途天气炎热,最高气温可达36℃,风向南风1-3级,赛鸽全程侧逆风飞行,这对赛鸽来说也是不小的挑战,祝愿小将们顺利归巢。
归巢消息:
福建莆田赛鸽俱乐部:21日当天中午,鸽友苏国兴的一羽2025-13-932093打钟报进,分速882.9704米/分,空距354.369公里,获得该俱乐部夏季预赛冠军。亚军由鸽友张建清获得,赛鸽环号2025-13-930511,分速882.0438米/分,空距364.007公里。季军由鸽友林春盛+郑镇海拿下,赛鸽环号2025-13-932680,分速879.1247米/分,空距364.052公里。
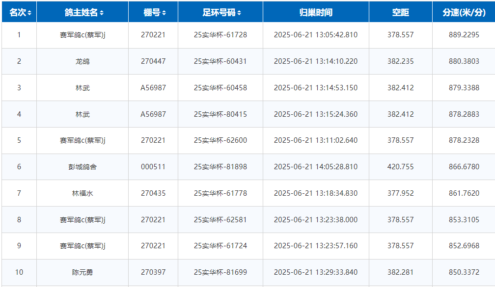
泉港区实华赛鸽俱乐部:21日当天下午,鸽友赛军鸽蔡军的一羽25实华杯-61728打钟报进,分速889.2295米/分,实际空距378.557公里,拿下俱乐部25实华杯春夏四关-第二关的冠军宝座。除此之外,蔡鸽友还拿下第5、8、9、12、13、24、30名等成绩,前十占四羽,多羽赛鸽飞进高位,实力不俗。
获得亚军的是鸽友龙鸽,赛鸽环号25实华杯-60431,分速880.3803米/分,空距382.235公里。季军与殿军被鸽友林武一人拿下,季军赛鸽环号25实华杯-60458,分速879.3388米/分;殿军赛鸽环号25实华杯-80415,分速878.2883米/分,实际空距382.412公里。
比赛赛线















