时至七月,福建夏赛也已进入火热阶段。7月3日,多家俱乐部、协会共同发起决赛挑战。三场赛事的冠军将在今天见分晓。
福州今天天气多云,气温27℃-35℃,东风2-3级,虽然有些闷热,但好在太阳并不烈,希望今天小将们能闯关成功!以下是三场比赛的详细情况:
福建闽南幼鸽赛第四关台州站,共集鸽626羽,于早上5点30分开笼,参考空距515.923公里。这是闽南幼鸽赛的第四关,首关福鼎站起站1999羽,一周一关。直播链接>>
归巢消息:中午11点左右,赛鸽已经归巢,本场决赛分速在一千三左右,截至14:26,共有超七成赛鸽归巢,可以说整体归巢速度还是较快的。
11:37,鸽主晋江禾丰的68036打钟归巢,空距507.926公里,分速1380.8660米/分,获得本次决赛冠军,同时这羽赛鸽还获得了四关综合鸽王7名,实力斐然。
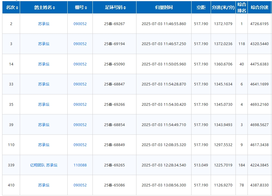
决赛亚军、季军都是由名家苏承坛的赛鸽拿下。11:46,苏承坛的69267归巢,飞行空距517.190公里,分速1372.1079米/分,获得决赛亚军。不仅如此,这羽赛鸽还以综合分速4726.6195米/分的分速获得四关鸽王冠军,非常厉害。季军69194,飞行空距517.190公里,分速1372.0236米/分,获得四关综合鸽王118名。
而苏承坛的成绩还不止与此。笔者查询直播链接,他在本关共有9羽赛鸽入围,其中有5羽都获得了四关鸽王前十名。除上文提到的决赛亚军外,还有决赛39名68854,获综合鸽王季军;决赛35名69266,获综合鸽王殿军;决赛33名68847,获综合鸽王6名;决赛110名090052,获综合鸽王9名。除此5羽外,剩下的4羽排名也都是在鸽王前200名之内。能在四关鸽王排名内飞出梦幻赛绩,苏承坛确实实力不俗。

泉州名家苏承坛
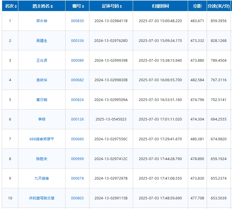
福建福州鼓楼区信鸽协会25年夏季决赛新余站,本次共集鸽1063羽,于早上5点38分开笼,参考空距474.477公里。本场夏赛也是于6月初起站,正值夏季闷热时期,从历史数据来看,每一站都打得十分艰难:首战上笼5187羽,归巢率36%;二关归巢率67%;三关归巢率42%。可以说,每一关都是试炼。直播链接>>
归巢消息:本场比赛十分艰难,下午三点首羽信鸽才打钟,而从三点到四点整整一小时,才回来3羽赛鸽。比赛当日仅归巢17羽,截至7月4日早九点,共归巢123羽赛鸽,归巢率仅11.57%。冠军为郑永坤 的2024-13-0298411B飞行空距483.671公里,分速859.3956米/分。

福建海西赛鸽俱乐部2025年夏季决赛,司放地江西永修站,本次共集鸽595羽,于早上5点28分开笼,参考空距474.535公里。比赛从6月7号开始首战比拼,首关南平站就难度加码,淘汰了超六成赛鸽,其后的比赛也是难度不小。一路筛选下来,最终仅有近六百羽勇士上笼,希望本关能赛出好成绩。直播链接>>
归巢消息:中午13:08,冠军归巢。赵闽水的2024-13-0225707B,飞行空距460.936公里,分速1000.0774米/分。比赛当日仅归巢20羽,截至7月4日早九点,共归巢75羽赛鸽,归巢率仅一成左右。


福建鼓楼区信鸽协会赛线图














