福建龙海荣发俱乐部2025年夏季幼鸽三关赛,第二关新余站,于7月24日早6点开笼,共集鸽498羽,空距469公里,天气晴,西北风3级。本场比赛有效分速400米/分,本次飞行途中将路过众多山区,颇有挑战,预祝小将们取得好成绩!
本届夏季三关赛,起站1143羽,7月4日260公里宁都预赛站,归巢率85%;7月15日首关419公里吉安站难度提升,几近伯马,集鸽1054羽,当日仅归355羽。
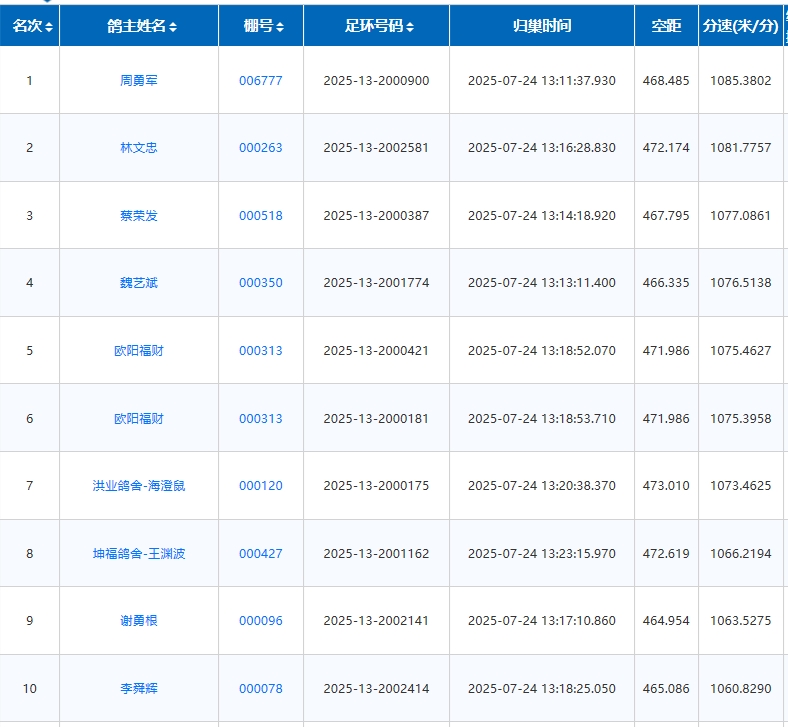
归巢消息:下午一点刚过,已见赛鸽归巢。截至13点56分,已归巢34羽。经过一番角逐之后,前十席位已定。以下是具体归巢情况:
周勇军的2025-13-2000900在13:11:37打钟,飞行空距468.485公里,飞行分速1085.3802米/分;
林文忠的2025-13-2002581在13:16:28打钟,飞行空距472.174公里,飞行分速1081.7757米/分;
蔡荣发的2025-13-2000387在13:14:18打钟,飞行空距467.795公里,飞行分速1077.0861米/分。

2024年春季四关赛鸽王前三名欣赏















