每年6-7月,福建各大鸽会都活跃起来,开启夏赛进程。时值八月,夏赛虽基本已经结束,不过那些因比赛而火出圈的名家、铭鸽们,却经常被提起,成为这个夏天火热的印记。
福建福州台江区信鸽协会的夏季西线赛,以9808羽赛鸽起站,一个月内打完四场,勇闯江西宜春。西线难度高、挑战大,从山区飞山区,极其考验赛鸽的体能和定位能力。具体赛事情况如何?今天一起来看看。
6月19日6:45,台江区9808羽赛鸽在福建南平市开笼放飞,空距116.27公里,天气晴。本场比赛小将们发挥良好,共有六成赛鸽归巢。一周后第二关开启,司放地福建泰宁,共有5994羽赛鸽开笼,空距228公里。本关中,雄丰林成福的2024-13-0329976DF在飞行229.976公里后归巢,分速1190.4002米/分,获得冠军。本场比赛归巢率良好,超八成赛鸽都已归巢。
休息5天后,下一关开启。预赛站共4825羽赛鸽司放江西乐安,空距375公里。在这一关,夏赛显示出它的威力——将近六成赛鸽都没有通过考验,最高分速仅1063米/分。不过,前十名中,我们依旧能看到熟悉的身影:战斗机金榜鸽舍名下的2024-13-0329133CF获第四名。
半个月后决赛来临,2079羽赛鸽参与挑战。近万羽起站,到决赛还有两千多羽赛鸽上笼。本次挑战江西宜春,空距526公里,当天气温最高可达37℃。比赛十分艰难,经过八个多小时的飞行,终于见鸽归巢,且分速破千的赛鸽仅有三羽。
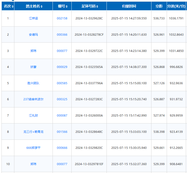
江梓涵的2024-13-0329628C,飞行空距536.733公里,分速1036.1791米/分,获冠军;
安德玛的2024-13-0328278CF,飞行空距526.961公里,分速1032.8643米/分,获亚军;
郑玮的2024-13-0329722C,飞行空距529.399公里,分速1031.4850米/分,获季军。

在前三名的获奖鸽友中,福建名家郑玮夫妇鸽舍综合成绩最为亮眼,除季军外还获得决赛10名,前百名赛鸽中他一共进奖7羽,决赛共报到22羽。
郑玮夫妇,已经连续几年在台江区鸽会的夏赛中取得优异成绩了。2023年获得福州台江夏季西线综合鸽王33名;2024年获得台江区鸽会夏季西线决赛亚军。除此之外,在福建其他鸽会的比赛中,也取得过很多优异的战绩,说一句“地方强豪”绝不为过。
据郑玮夫妇讲述,这次台江决赛27名是美国西翁血系,这路血系的特点就是速度快、爆发力强,有顽强的归巢毅力,比赛后肌肉恢复也很快,
值得一提的是,郑玮夫妇二人都是赛鸽好手,妻子更是有“福州铁娘子”之称,是一位十分优秀的女鸽友。可以说,郑玮鸽舍能取得今天的成就,和妻子的潜心付出脱不开关系。















