8月6日,广东揭阳产业转移工业园信鸽协会、广东揭阳市联翔赛鸽俱乐部2025年秋季铁鸽五关赛正式开赛!
早晨6时30分,两会共计放飞3849羽赛鸽,参考空距170公里,司放地福建龙岩武平县。司放地武平今日阵雨,西南风2级。沿途地区皆有中雨,最高温29℃。赛鸽将会经过粤闽交界山区丘陵地带,气流复杂多变,全程顶风飞行,加之大雨肆虐,给赛鸽归巢带来挑战。
归巢消息:
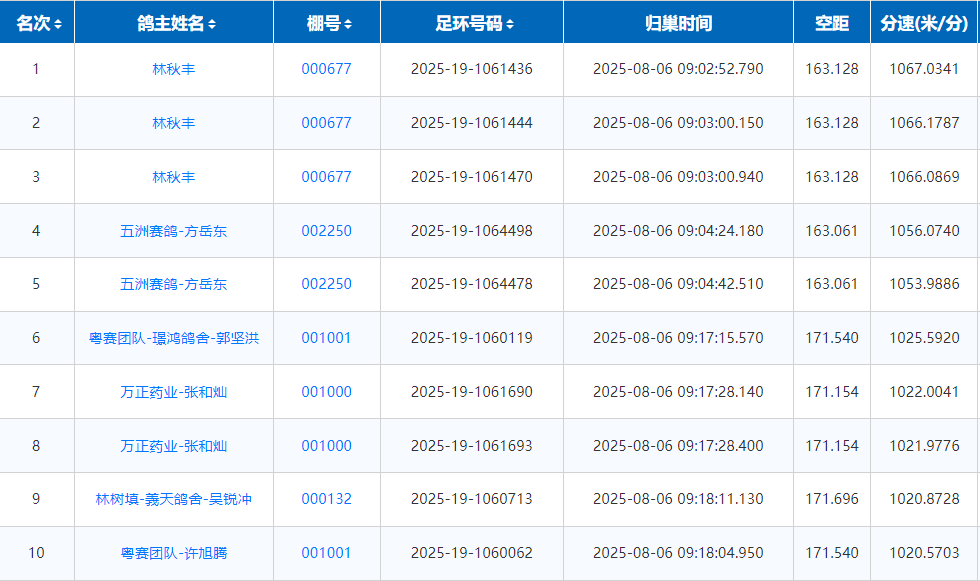
广东揭阳市联翔赛鸽俱乐部:早晨9时左右,鸽子开始陆续归巢,潮州名家林秋丰在此次比赛中展现了自己的赛场统治力,一举包揽俱乐部前三!
获得冠军的是其名下一羽2025-19-1061436,分速1067.0341米/分,空距163公里;亚军环号2025-19-1061444,分速1066.1787米/分;季军环号2025-19-1061470,分速1066.0869米/分。
鸽友五洲赛鸽-方岳东同样表现亮眼,包揽第四第五。殿军环号2025-19-1064498,分速1056.0740米/分,空距163.061公里;第五名分速1053.9886米/分。
截至上午9时40分,共归巢489羽,归巢率14.36%。
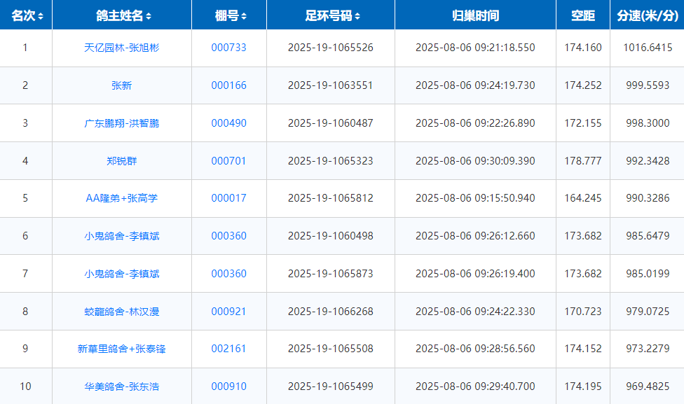
揭阳产业转移工业园信鸽协会:鸽友天亿园林-张旭彬的一羽2025-19-1065526,于9时21分顺利报进,飞行空距174.160公里,以1016.6415米/分的成绩拿下冠军。
鸽友张新的一羽2025-19-1063551于9时24分报进,分速999.5593米/分,空距174.252公里,获得亚军。
鸽友广东鹏翔-洪智鹏的一羽2025-19-1060487于9时22分报进,分速998.3000米/分,空距172.155公里,夺得季军。
截至上午9时45分,共归巢38羽,归巢率8.58%。
根据规程,今年揭阳联翔塞鸽俱乐部秋季“铁鸽五关”赛设置测试站180公里武平、资格站260公里瑞金、一关340公里广昌、二关400公里南丰A、三关400公里南丰B、四关435公里南城、五关480公里金溪的赛程,共七次司放。
联翔赛鸽俱乐部成绩截图
工业园信鸽协会成绩截图
开笼瞬间
















