8月25日,贵州黔西市蓝天信鸽之家、黔西市洪水信鸽俱乐部、黔西县沙窝赛鸽俱乐部,三家俱乐部同日开启秋季预赛的征程,6500余羽小将展翅竞速贵州天空。
早晨6时28分,贵州黔西市蓝天信鸽之家、沙窝赛鸽俱乐部同时开笼,司放羽数分别为5581羽、364羽。早晨6时56分,黔西市洪水信鸽俱乐部开笼,司放624羽。
三家俱乐部司放地都为贵州省铜仁市德江县,参考空距230公里,司放地天气多云,气温23-34℃,北风微风。沿途气温最高33℃,风向由北转南再转北,赛鸽全程侧逆风飞行。
比赛直播:蓝天信鸽之家 黔西县沙窝赛鸽俱乐部 洪水镇胡军信鸽俱乐部
本次比赛空距不算长,但地形较为复杂,全程穿越贵州喀斯特地貌高原核心区。赛线自东向西跨越武陵山脉余脉至乌蒙山东麓,形成“低—高—低”的阶梯式海拔变化,起点德江平均海拔800多米,但中段需翻越1800米的大娄山支脉,终点附近的海拔降至1000米左右。全程峰丛石林密布、河谷纵横,信鸽需兼具精准导航、抗气流扰动与长距离续航能力,才能顺利突破天堑归巢。
经过三个多小时的激烈角逐,三家俱乐部榜单揭晓。
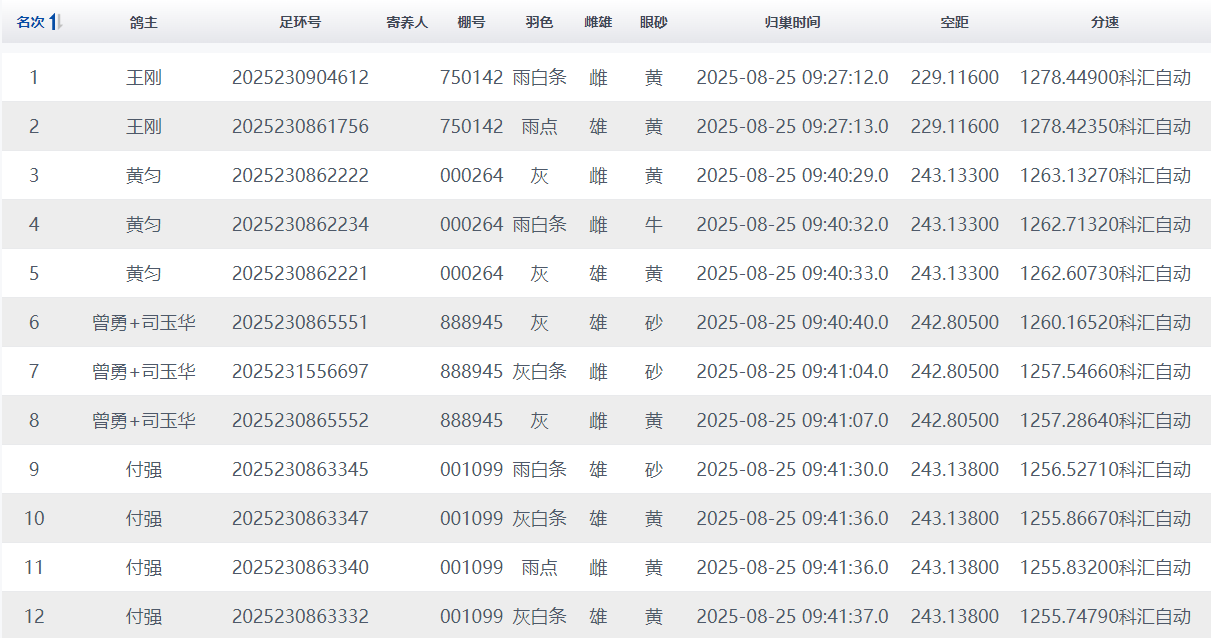
贵州黔西蓝天信鸽之家:早晨9时30分左右,第一批赛鸽陆续归来。鸽友王刚的赛鸽表现尤为亮眼,包揽了本次预赛的前两名。他的两羽赛鸽归巢时间极为接近,足环号分别为2025230904612和2025230861756,分速分别为1278.449米/分和1278.4235米/分,空距229.116公里,一包揽冠亚军,展现出了惊人的速度和稳定性。
鸽友黄匀的赛鸽也有着出色发挥。前五占三,拿下了第三至五名的位次。季军2025230862222,空距243.133公里,分速1263.1327米/分;殿军2025230862234,分速1262.7132米/分;第五名2025230862221,分速1262.6073米/分;三羽赛鸽归巢时间接近,充分显示了其鸽群的整体实力和良好状态。
合作参赛的鸽友曾勇与司玉华同样不可小觑,一举拿下六至八名;鸽友付强一举拿下九至十二名。
高位几乎都被实力强劲的鸽友一批包揽,截至8月25日下午16时15分,共归巢3434羽赛鸽,归巢率61.48%。
黔西县沙窝赛鸽俱乐部:上午9时50分左右,沙窝的赛鸽开始陆续归巢。本次比赛中,韩锋选手的表现极为亮眼,前15名独占9席,飞出梦幻成绩!
冠军鸽2025230875494为一羽黄眼灰色雄鸽,于9时50分37秒率先打钟,空距247公里,分速1219.2547米/分。紧接着10分钟内,韩鸽友接连报进8羽赛鸽,分别排名2、3、4、5、7、9、12、13,成为本场比赛最大赢家。本场比赛取得好成绩后,韩锋鸽友在社交媒体上分享了自己激动的心情,表示要给自己的爱鸽加餐吃顿好的。他日常从事公路货运工作,家里的鸽舍用蓝色铁皮、水泥、木板搭建而成,业余时间用来养鸽。
鸽友陈德龙的2025230874827获得第六,张春的2025230875118获得第八,孙勇的2025230875693获得第十。
截至8月25日下午16时15分,共归巢201羽赛鸽,归巢率55.22%。
黔西市洪水信鸽俱乐部:
冠军:上午10时12分,鸽友刘炎的2025230391450灰白条砂眼雄鸽顺利报进,空距229公里,分速1168.9975米/分。
亚军:上午10时19分,鸽友孟庆纲的2025230391571黄眼雨点雄鸽顺利报进,空距234公里,分速1150.8798米/分。
季军:上午10时16分,鸽友高万军的2025230391581黄眼灰色信鸽顺利报进,空距230公里,分速1150.3391米/分。
截至8月25日下午16时15分,共归巢213羽赛鸽,归巢率34.13%。
开笼瞬间


韩锋鸽友鸽舍与本次比赛归巢鸽
















