继首关双双告捷之后,贵州织金县金北赛鸽俱乐部、金南赛鸽俱乐部再度同日开启二关赛事。今日清晨,两家俱乐部共4850羽赛鸽精英踏上征程,迎战270公里的挑战。
上午6时52分,金南赛鸽俱乐部率先开笼,司放地点位于贵州德江,集鸽总数达4213羽,参考空距约271.717公里。天气多云,伴有3级南风,适宜飞行。点击查看直播>>
10点38分56秒,首羽小将归来,来自肖龙鸽友的2025-23-0877726赛鸽勇夺冠军,平均分速1196.2758米/分。之后,肖龙连连拿下亚军、季军、殿军、5名、6名、7名,实力惊人!
仅数分钟后,6时59分,金北赛鸽俱乐部也在同一司放地鸣笛开笼。本关集鸽637羽,参考空距为267.009公里,天气情况一致,同样为多云天。点击查看直播>>
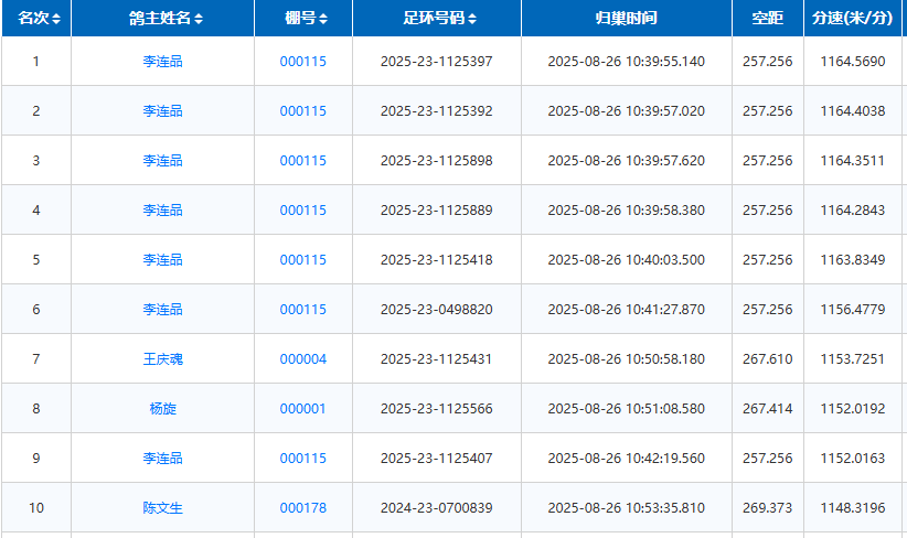
10点39分左右,第一梯队报进。前六名均被鸽友李连品包揽,冠军鸽以1164.5690米/分的速度率先归巢,足环号为2025-23-1125397。其名下另两羽2025-23-1125392、2025-23-1125898分别获得亚军、季军。除前六名外,李连品还有一羽获得第九名,共计7羽闯入十强。
期待小将们本关继续带来精彩表现,预祝鸽友们取得佳绩!














