9月3号,内蒙古通辽多家俱乐部、协会同时开启短距离速度赛,共计超过5千羽赛鸽同日竞技。秋高气爽好竞翔,内蒙古小将们施展浑身魄力,誓要为主人拿下好成绩。
5:30,内蒙古通辽市科尔沁区开创者信鸽协会秋季200公里,在怀德服务区开笼,共集鸽623羽。截至9点10分,共有三成赛鸽归巢。鸽友于洪亮,一人包揽冠、亚、季军。冠军环号2025-05-0587984,飞行分速1201.2350米/分。直播链接>>
5:40,内蒙古通辽钱家店诚信赛鸽俱乐部秋季180公里,在怀德服务区开笼,共集鸽1187羽。截至9点10分,共有接近六成赛鸽归巢。鸽友李学华包揽冠、亚军。冠军环号2025-05-0583306,飞行分速1237.5715米/分。季军为鸽友张建军。直播链接>>
5:40,内蒙古通辽大林信鸽协会秋季150公里,在怀德服务区开笼,共集鸽166羽。截至9点10分,共有接近六成赛鸽归巢。李春雨的2025-05-0705571获冠军,打钟时间07:50:45,空距159.616公里,分速1220.6293米/分。直播链接>>
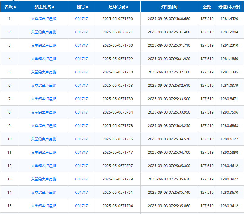
5:46,内蒙古通辽市信鸽协会秋季120公里,在双辽市双山服务区开笼,共集鸽2732羽。截至9点25分,共有超八成赛鸽归巢。义堂鸽舍卢晨鹏包揽前22名,实力强劲。前50名中,他一人独占29羽!冠军打钟时间07:25:30,空距127.519公里,分速1281.4520米/分。直播链接>>
5:50,内蒙古通辽市开鲁县信鸽协会秋季120公里开笼,共集鸽569羽。截至9点30分,共有超八成赛鸽归巢。鸽友朱国勇包揽前8名,实力强劲。冠军打钟时间06:41:14,空距106公里。直播链接>>



通辽鸽会前15名

内蒙古通辽市信鸽协会120公里前22名包揽鸽主 义堂鸽舍

内蒙古通辽市信鸽协会120公里冠军

内蒙古通辽市信鸽协会120公里亚军













