9月4日,贵州六枝特区信鸽协会、贵州都匀建铭赛鸽俱乐部先后开启了一关赛的征程,共放飞1800多羽赛鸽。
早晨7时28分,晨间雾气散去,贵州六枝特区信鸽协会秋季预赛在广西河池开笼,共计放飞1037羽赛鸽,参考空距293公里,司放地天气多云,东南风2级,气温26-35℃;比赛后半程风向变为北风,赛鸽变为侧逆风飞行。点击查看比赛直播>>
早晨6时56分,贵州都匀建铭赛鸽俱乐部放飞824羽赛鸽,司放地广西都安,参考空距260公里,司放地多云,东南风2级,气温27-35℃。点击查看比赛直播>>
在上一关8月28日资格赛的竞翔中,六枝特区超过七成小将成归来;都匀建铭俱乐部归巢不到六成,四成小将折损在了资格赛。期待本关的小将们能有好的表现。
贵州六枝特区归巢消息:
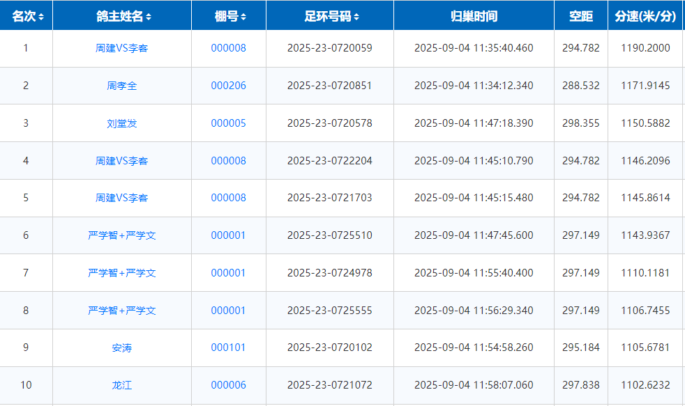
中午11时35分,鸽友周建VS李客的一羽2025-23-0720059打钟报进,凭借空距294.7公里,分速1190.2米/分的成绩,拿下预赛冠军!十分钟后,该团队另有两羽赛鸽顺利归巢,分别获得第四、第五的好成绩。
中午11时34分,鸽友周孝全的一羽2025-23-0720851顺利报进,空距288.532公里,分速1171.9145米/分,获得亚军。
中午11时47分,鸽友刘堂发的一羽2025-23-0720578打钟报进,空距298.355公里,分速1150.5882米/分,获得季军。
截至下午14时20分,归巢68羽,归巢不足一成。
截至下午14是20分,贵州都匀建铭赛鸽俱乐部仅归巢149羽,归巢率18.08%。
赛线图














