中秋将至,但广东地区的气温还是高居不下。在这夏末秋初的时间里,广东许多协会、俱乐部已经按捺不住,开启了秋赛比拼。
9月11日清晨六点半,广东汕头顺翔俱乐部2025年秋季南北四关赛资格一开赛,本次司放厦门,参考空距177公里,共集鸽3258羽。直播链接>>
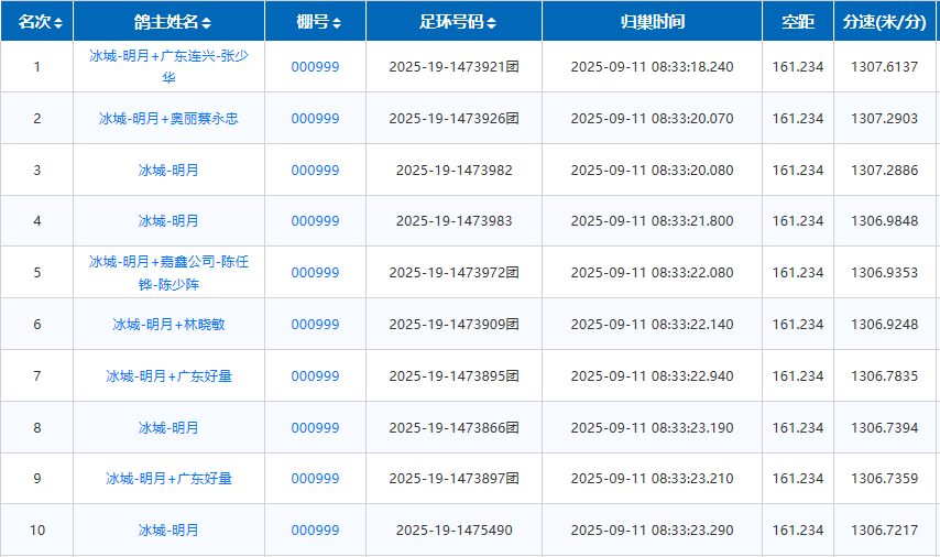
归巢消息:小将们归巢迅速,截至11点整,已有96%的赛鸽都完成挑战。而且,冰城明月寄养团队顺利包揽前十一名,可见教练实力不凡。
冠军冰城-明月+广东连兴-张少华,赛鸽环号2025-19-1473921团,08:33:18打钟,飞行分速1307.6137米/分。
亚军冰城-明月+奥丽蔡永忠,赛鸽环号2025-19-1473926团,08:33:20打钟,飞行分速1307.2903米/分。
季军冰城-明月,赛鸽环号2025-19-1473982,08:33:20打钟,飞行分速1307.2886米/分。
广东汕头顺翔俱乐部2011年成立,已经是一个具有14年办赛经验的老俱乐部了。南北四关鸽王赛是鸽友们共同探索创造的特色赛事,“南北双向”的特色赛线以及“夏末秋初”正符合对赛鸽综合素质全方位考验的要求,“限分速”和“司放条件”两条规则的设置,也增加了北线的挑战难度,增加了比赛的可比性。
本场赛事不设院内,参赛团队全部是院外成员。比赛先放北线后放南线,分为厦门、仙游两关资格赛,以及500公里福安站、500公里霞浦站、300公里深圳站、400公里江门站四关赛事,预计十月中旬结束。
















