金秋展翼,竞逐苍穹!9月20日,北京秋赛已全面打响,朝阳、丰台、房山三大鸽会,同日开启首场速度赛比拼,数千羽赛鸽迎着朝阳破空而出,以昂扬之姿拉开今秋竞速的激烈序幕。晴空之下,赛线齐发,归巢迅捷,名家云集群雄逐鹿,以实力共铸京华秋赛的辉煌篇章!
朝阳鸽会180-200公里比赛,今早6:24在饶阳服务区开笼。天气晴,赛鸽走势良好,总参赛羽数1058羽。参考空距180公里。直播链接>>
归巢消息:短距离归巢迅速,开笼两小时后已经见鸽归巢。截至上午10点11分,共归巢700多羽赛鸽。鸽友胡振明名下的2025011048951、2025011048991强势揽获本次冠、亚军,最高分速1443.2839米/分。

丰台信鸽协会260公里比赛,今早6:30在栾城开笼,天气晴。本次比赛集鸽1571羽,录取300名,参考空距275公里。直播链接>>
归巢消息:北京丰台短距离赛,向来是名家必争之地,今年的赛场也是同样激烈。截至上午10点11分,共归巢800多羽赛鸽。冠军王虎,赛鸽环号25010955428,飞行分速1382.7012米/分;亚军是名家勾晨亮名下赛鸽25-01-0953059,分速1382.6834米/分。前20名中,勾晨亮名下赛鸽共获得了7个名额,分别是2、6、7、11、13、19、20名。实力超群,恭喜!

房山区信鸽协会秋季首场240公里普赛,今早6:30在石家庄东服务区开笼。天气晴,赛鸽走势良好。本场比赛共3602羽赛鸽参赛,其中房山鸽会(奥尼普特)共集鸽2345羽赛鸽、恒聚源赛鸽俱乐部(科汇)共集鸽1257羽。本场比赛取461名。奥尼普特链接>> 科汇直播>>
房山鸽会(奥尼普特)归巢消息:名家郑建伟+李猛名下战将,一句揽获冠军、亚军、季军、殿军!成绩傲人,最高分速1412.5099米/分。
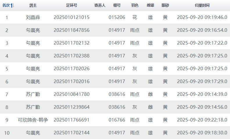
恒聚源赛鸽俱乐部(科汇)归巢消息:名家刘晶淼获冠军,赛鸽环号2025010121015,分速1406.4901米/分。名家勾晨亮直接包揽2、3、4、5、6名,实力强劲!
















