9月20日,内蒙古通辽市信鸽协会、内蒙古通辽市开鲁县信鸽协会同日开赛,超5000羽赛鸽齐聚东北赛线,开展一场速度比拼。
早晨5时38分,晨光熹微,内蒙古通辽市开鲁县信鸽协会360公里资格赛率先开笼,放飞赛鸽413羽,司放地米沙子服务区,参考空距360公里,司放地天气晴,赛鸽走势良好。点击查看直播>>
早晨5时43分,内蒙古通辽市信鸽协会350公里赛开笼,放飞赛鸽4650羽,司放地为双城区靠山屯大桥南,参考空距350公里,司放地天气晴,风向西南风1级。点击查看直播>>
两家鸽会所选的东北赛线,地形以平坦为主,起伏不大,且今日沿途天气为多云有晴,北风1-3级,整体气象条件适宜赛鸽飞行,期待小将们赛出好成绩。
早晨9时50分左右,比赛开始陆续到鸽。
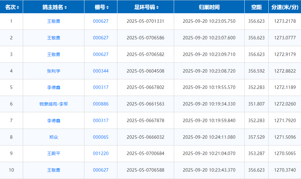
内蒙古通辽市信鸽协会:上午10时23分,鸽友王敬勇连续报进四羽,包揽了比赛前三与第十名。冠军鸽环号2025-05-0701331,分速1273.2178米/分,空距356.623公里。亚军鸽环号2025-05-0706586,分速1273.0777米/分;季军鸽环号2025-05-0706582,分速1272.9179米/分。
王敬勇鸽友养鸽自2003年开始养鸽,是通辽当地赛鸽名家,多次在公棚获得过高位成绩,鸽舍主要血统有东方不败,胡本等。能在四千多羽的比赛中包揽前三名次,足见王鸽友的赛鸽实力。
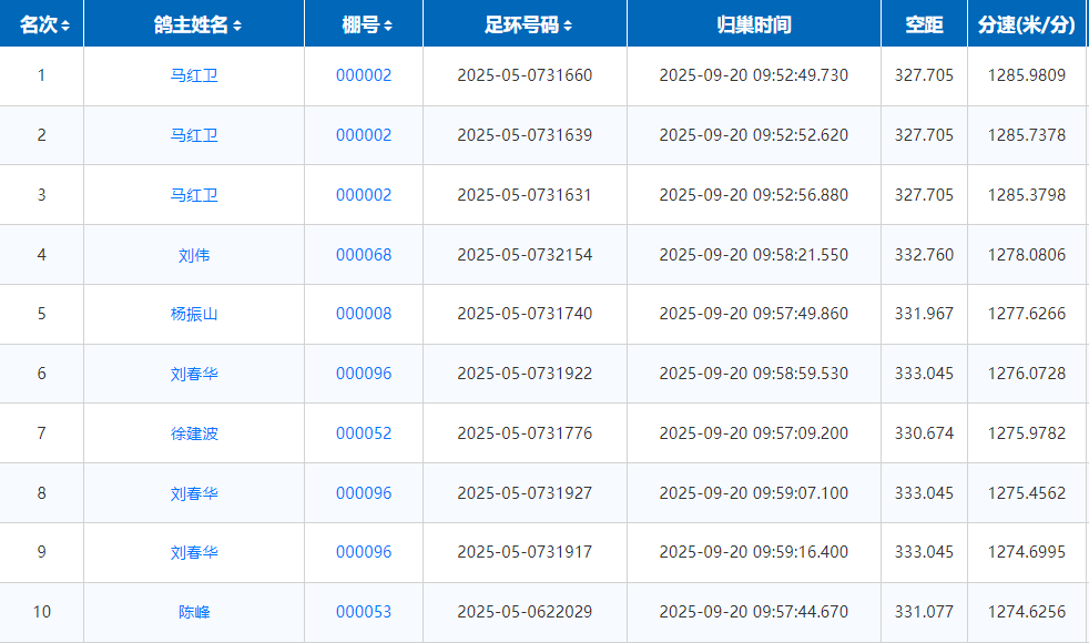
内蒙古通辽市开鲁县信鸽协会:上午9时52分,当地名家龙马鸽业马红卫鸽友一连报进三羽,将比赛前三名通通收入囊中。冠军鸽环号2025-05-0731660,分速1285.9809米/分,空距327.705公里。
亚军环号2025-05-0731639,分速1285.7378米/分;季军环号2025-05-0731631,分速1285.3798米/分,除此之外,马红卫鸽友还有5羽赛鸽飞进前百,实力不俗。
通辽鸽会成绩截图
开鲁县鸽会成绩截图
开笼瞬间



开鲁县鸽会赛线图

通辽市鸽会赛线图














