9月25日7时10分,福建福州台江区信鸽协会第二站在邵武打响,比赛集鸽2647羽,众多当地名家都送鸽上笼参赛。
比赛参考空距230公里,虽然不长,但是归巢率却不甚理想,比赛当天仅归巢650羽赛鸽,仅四分之一的赛鸽归巢。截至第二天上午9时30分,归巢率仅44%,不到一半。点击查看比赛直播>>
本关的赛线地形难度也不小,起点邵武地处武夷山南麓,低山丘陵占比超七成,沿途海拔落差比较大,让赛鸽面临爬坡与气流干扰的双重挑战。根据气象信息,25日赛线沿途天气为多云、小雨,最高气温34℃,雨水与湿度较大产生雾气都会对赛鸽归巢有影响。
尽管比赛难飞,赛鸽们还是突破阻碍坚持归巢。
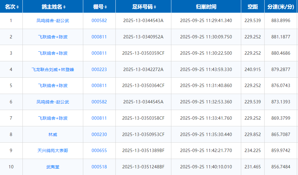
鸽友凤鸣鸽舍-赵公武的一羽2025-13-0344543A,于比赛当天中午11时29分率先归巢,分速883.8996米/分,空距229.539公里,拿下本关比赛的冠军。其名下另一羽2025-13-0344545A稍晚些也顺利报进,获得比赛第六名。
鸽友飞跃鸽舍+陈波三分钟内报进四羽,分别拿下亚军、季军、第五名、第七名的高位。亚军鸽环号2025-13-0340952A,于11时30分09秒报进,空距229.252公里,分速881.1877米/分。季军鸽环号2025-13-0350359CF,分速880.4686米/分。
鸽友飞龙联合刘威+林登峰的一羽2025-13-0342272A,于11时43分59秒报进,分速879.2877米/分,空距240.915公里,获得比赛殿军。
刘鸽友是当地赛鸽名家,在前不久鼓楼信鸽协会二关的比赛中强势包揽了前三,实力强劲。台江这场比赛打完,他在社交媒体上分享自己比赛感想,直言“230公里飞出决赛的感觉。”可见这场比赛难度不小。
成绩截图
赛线图














