秋风送爽的十月上旬,云南大理九鼎赛鸽中心60公里查棚战打响。10月5日早晨8时18分,比赛在云南弥渡南华交界处依苴地处开笼,10355羽赛鸽冲出鸽车,万羽齐飞的场面壮观震撼。查看直播>>
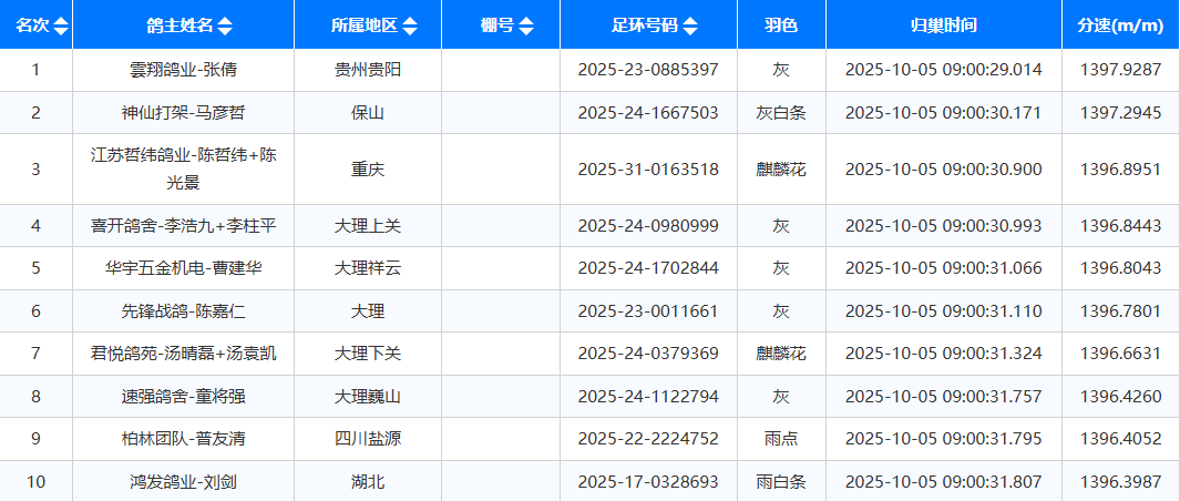
一小时不到,第一批赛鸽归巢。获得冠军的是雲翔鸽业-张倩鸽友,来自贵州贵阳,赛鸽环号2025-23-0885397,羽色灰,归巢时间09:00:29,分速1397.9287米/分。
拿下亚军的是神仙打架-马彦哲鸽友,来自云南保山,赛鸽环号2025-24-1667503,羽色灰白条,归巢时间09:00:30,分速1397.2945米/分。
摘得季军的是鸽友江苏哲纬鸽业-陈哲纬+陈光景,来自重庆,赛鸽环号2025-31-0163518,羽色麒麟花,归巢时间09:00:30,分速1396.8951米/分。
截至早晨9时30分,已归巢6041羽赛鸽,归巢率58.34%。





[zan][zan]的确牛叉






