近日,全国秋赛热火朝天,秋赛捷报频传!10月22日,辽宁两家公棚先后接连开赛,战况激烈,看点纷呈。其中,两位鸽友连连斩获佳绩,展现硬核实力。
清晨6点18分,辽宁锦州渤海湾赛鸽公棚决赛正式开笼,共计1234羽赛鸽参赛。司放地为吉林米沙子服务区,参考空距约500公里。
经过近6小时的激烈角逐,中午12点44分48秒,冠军揭晓。鹏翔赛鸽-王鹏鸽友的2025-06-0042805灰鸽以1293.1216米/分的分速夺魁。仅两分钟后,王鹏鸽友再传捷报——其另一羽赛将2025-06-0042802灰鸽勇夺亚军。此外,其名下另有一羽2025-32-0324883赛鸽斩获第15名。前十五名占3羽,实力不俗。
截至10月23日18点,共计1084羽赛鸽成功归巢,归巢率高达87.8%。
6点26分,辽宁丰羽赛鸽公棚第八届秋赛首关比赛鸣枪启程。本关司放地为昌图,参考空距304公里,集鸽总数达10088羽,竞争激烈。
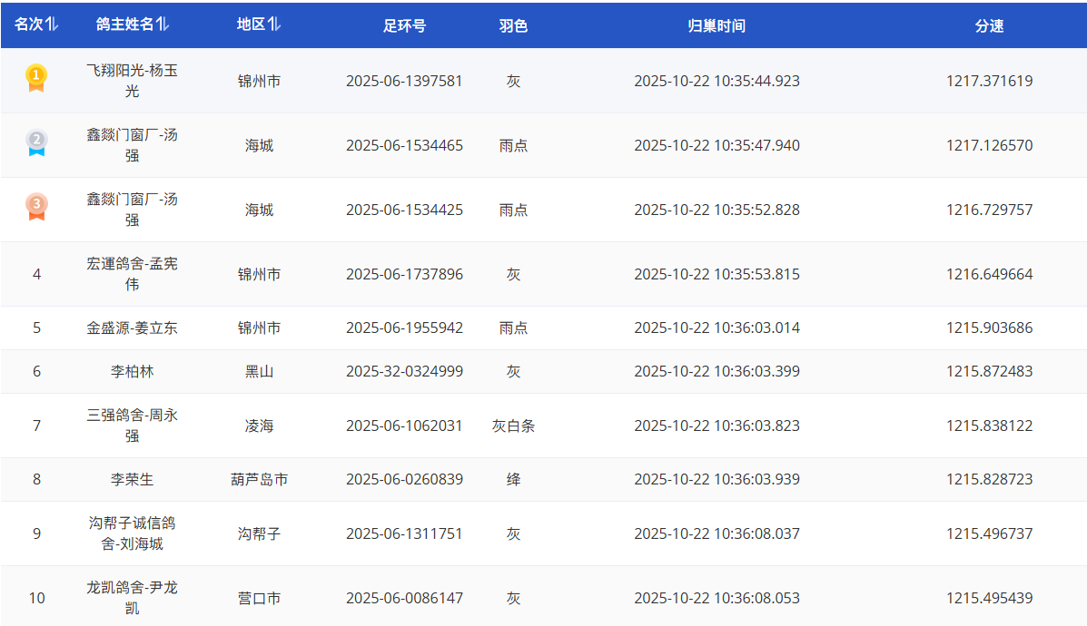
上午10点35分,首批归巢梯队抵达。飞翔阳光-杨玉光鸽友的2025-06-1397581灰鸽以1217.3716米/分的速度拔得头筹。随后,鑫燚门窗厂-汤强表现抢眼,其名下两羽雨点分别拿下亚军、季军。亚军环号2025-06-1534465,平均分速1217.1265米/分;季军环号2025-06-1534425,平均分速1216.7297米/分。前三甲占2羽,成绩可嘉。
截至10月24日16时,已有超过8000羽赛鸽顺利归巢,归巢率八成。














