黄河两岸秋光盛,塞上鸽鸣竞长空。11月20日清晨7时40分,宁夏中卫赛鸽公棚第三关决赛打响!司放现场条幅展开,所有人员严阵以待。随着司放员一声令下,10035羽赛鸽振翅冲出鸽笼,如箭雨般划破天际,一场汇聚各地赛鸽精英的终极决战正式开笼。
本次决赛司放地选在陕西蓝田,实际空距520公里。司放地天气晴,赛线全程顶风侧顶风交织,风力1-3级。
赛线地形方面,整体呈东南向西北阶梯式过渡,从山地到平原再到高原,地形过渡自然,无明显险峻阻碍,是一条能够真正检验赛鸽速度与定向的黄金赛道。期待小将们赛出风采,顺利归来。
归巢消息:
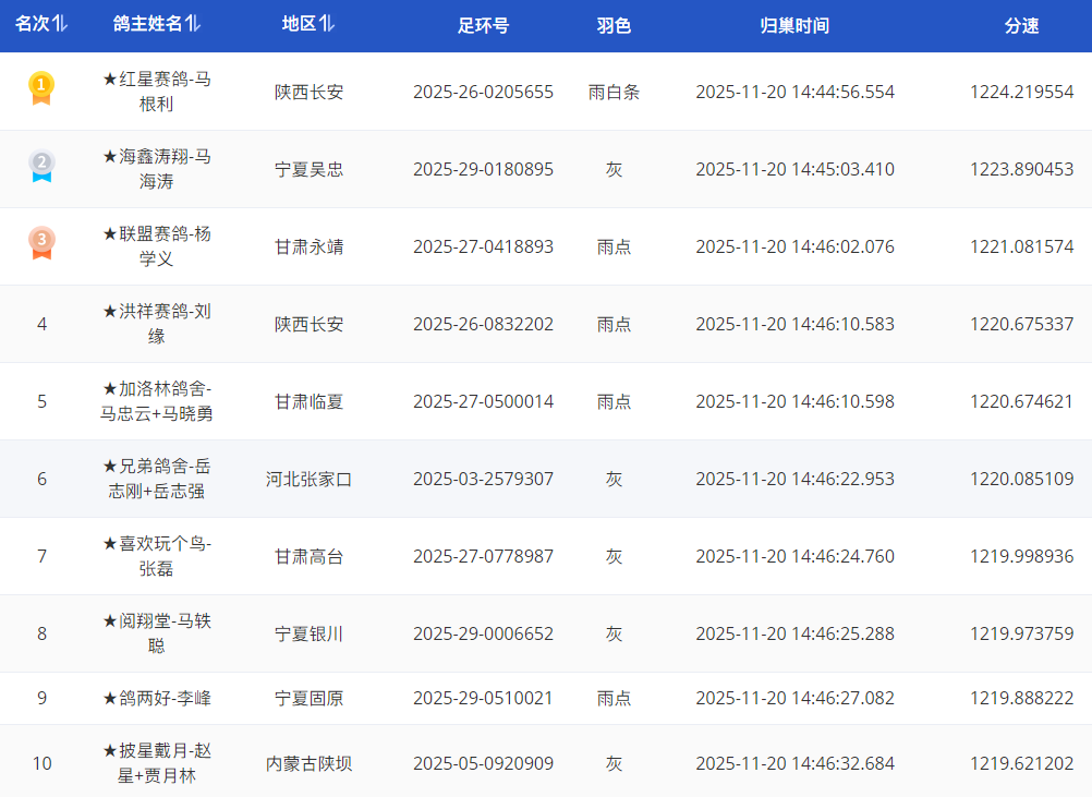
经过数小时的高空角逐,冠军被来自陕西长安的鸽友红星赛鸽-马根利拿下,其麾下一羽雨白条于14:44:56率先归巢,环号2025-26-0205655,凭借 1224.2195米/分的惊人分速,为鸽主争得冠军荣誉。
紧随其后的是宁夏吴忠鸽友海鑫涛翔-马海涛的赛鸽,环号2025-29-0180895灰,归巢时间为14:45:03,分速1223.8904米/分,斩获亚军。
季军被甘肃永靖的鸽友联盟赛鸽-杨学义拿下,赛鸽足环号2025-27-0418893,羽色雨点,归巢时间14:46:02,分速1221.0815米/分。
截至下午15时30分,已归巢1688羽赛鸽,剩余小将仍在归巢途中,为它们加油喝彩。

















