11月26日,山东多地信鸽协会与俱乐部同步开启秋季赛事,五千余羽精英赛鸽踏上500至560公里的征途。尽管当日天气晴朗,但整体归巢情况却不尽如人意,四家均不足三成归。即便赛况艰难、归巢寥寥,但济宁市实力鸽友曹洪亮仍表现抢眼,多羽接连在鸽会及俱乐部赛事中冲进前五,佳绩连连。下面来看赛况:
7点整,济宁市青年信鸽运动协会530公里比赛打响,集鸽1309羽,司放地为安徽潜山,天气晴,微风。
冠军来自鸽友艾中奎的2025-15-0430022赛鸽,于13:30:41打钟,飞行空距535.549公里,平均分速1370.7540米/分。曹洪亮鸽友名下两羽赛鸽分别斩获亚军(2025-15-0430065)和第五名(2025-15-0430076)。冯言平+韩江辉+胡兵的2025-15-0430244获季军。截至27日上午9点,共计186羽归来,仅一成归。

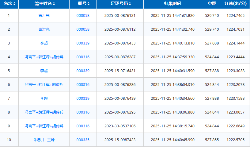
7点29分,济宁鼎盛赛鸽俱乐部530公里第四关开赛,集鸽1046羽。司放地安庆市怀宁县,天气晴。
曹洪亮鸽友再次展现强劲实力,连夺本场比赛冠亚。冠军环号2025-00-0876121,于14:41:31打钟,飞行空距529.740公里,平均分速1224.7465米/分;另一羽2025-00-0876112紧随其后摘得亚军。李超的2025-00-0876433获得季军。截至27日上午9点,共计261羽归来,归巢仅两成。

7点整,曲阜市信鸽协会四关鸽王赛第三关怀宁站开笼,集鸽1277羽,参考空距555.093公里。司放地天气晴,南风微拂。
冠军来自丰泰的2025-15-0986002赛鸽,于13:37:46打钟,飞行空距558.734公里,平均分速1404.6207米/分。同时,该鸽主名下一羽2025-15-0751004夺得殿军。孔志坚的T2025-15-0750106获亚军,圣城鸽苑-袁顺华的2025-15-0986281获季军。截至27日上午9点,共计165羽归来,归巢仅一成。

7点整,邹城市信鸽协会500公里三关鸣锣,集鸽1410羽。司放桐城香铺服务区,天气晴。
冠军来自张存存的2025-15-0745616赛鸽,于12:44:23打钟,飞行空距506.422公里,平均分速1470.4621米/分。刘幸幸表现不俗,其2025-01-0161270获亚军,另一羽2025-15-0019221摘得殿军。王林的2025-15-0054498位列季军。截至27日上午9点,共计317羽归来,归巢仅两成。












