四月的河北,春意正浓,鸽界亦是战鼓擂动,高潮迭起。从五百公里决战到百公里的短途竞速,各大公棚纷纷亮剑,1.8万羽赛鸽上演了一场场速度与耐力大比拼。
4月1日7时16分,河北久盟国际赛鸽公棚(小春棚)决赛,在辽宁葫芦岛开笼放飞。比赛上笼3683羽,实际空距507公里。
当天中午11时57分,第一梯队赛鸽如离弦之箭般高速归来。经过激烈的角逐,天津浩翔公棚-梁月的一羽足环号为02-0003184的灰鸽率先冲入鸽棚,以1799.5130米/分的惊人分速斩获冠军,展现了超凡的爆发力。沧州·雄起-刘景洋的03-1354347灰鸽紧随其后,以1785.3910米/分的分速锁定亚军。王洪明选送的04-1226675灰鸽则以1779.4241米/分的分速荣获季军。截至4月2日早9时30分,本场决赛共归巢861羽,归巢率为23.38%。点击查看直播
4月2日,河北赛鸽赛场依旧热闹非凡,多场赛事同日打响。
4月2日早6时56分,河北赛喜公棚第三关预赛在河南安阳滑县开笼。放飞赛鸽4434羽,实际空距372公里。司放地今日天气阴,有雾,北风2级,气温13-23℃。点击查看直播
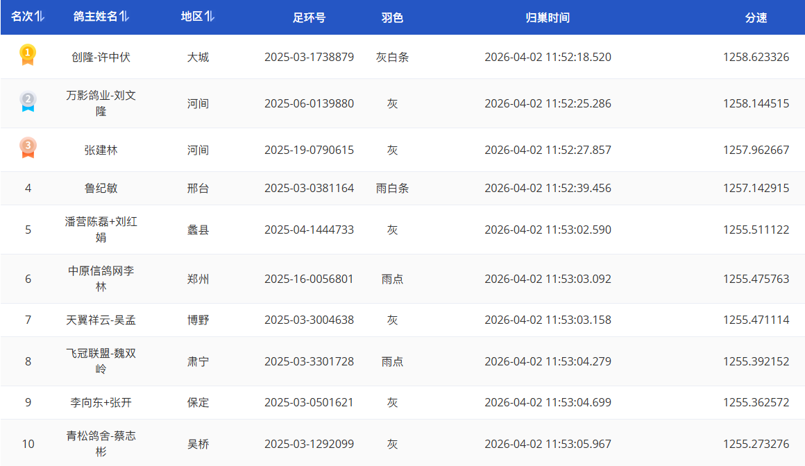
上午11时52分18秒,鸽友创隆-许中伏的一羽2025-03-1738879灰白条率先归来。分速1258.6233米/分,斩获预赛冠军。万影鸽业刘文隆的2025-06-0139880灰,分速1258.1445米/分,获得亚军。张建林的2025-19-0790615灰,分速1257.9626米/分,获得季军。截至下午14时整,比赛共归巢2106羽,归巢率47.5%。
4月2日早8时06分,张家口庆翔公棚160公里资格赛,在化德县白音不拉外村开笼。比赛上笼9227羽,实际空距160公里。司放地天气晴,西南风4级,气温1-16℃。点击查看直播
两小时后,大批赛鸽顺利归巢。10时06分58秒,鸽友杨仲红的一羽2025-03-2589019灰率先报进,分速1322.6541米/分,获得冠军。奇迹赛鸽于欢的2025-03-2414397灰,分速1322.4790米/分。永王永生鸽舍-王永生的2025-04-0798878雨点,分速1322.2889米/分,获得季军。截至下午14时17分,共归巢5836羽赛鸽,归巢率63.24%。
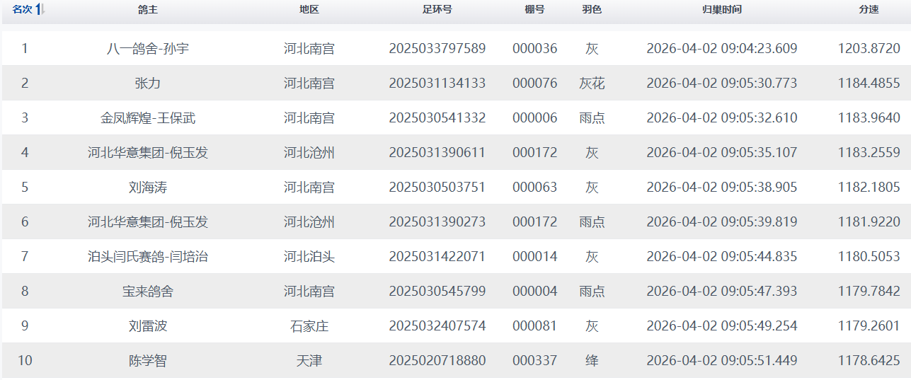
4月2日早7时56分,邢台南宫市东城赛鸽寄养中心80公里收费站,在当地开笼,集鸽746羽。当地天气晴,西北风2级。
约一小时后,小将们开始陆续归巢。9时04分23秒,八一鸽舍孙宇的一羽足环号2025033797589的赛鸽率先归巢,以1203.8720米/分的分速荣膺冠军。鸽友张力的2025031134133灰花以1184.4855米/分的分速获得亚军,金凤辉煌王保武的2025030541332雨点则以1183.9640米/分的分速斩获季军。截至9时49分,本场收费站比赛共归巢505羽,归巢率达67.69%。点击查看直播
久盟开笼

赛喜开笼

















