4月15日早7时46分,云南曲靖益翔信鸽养殖园加站赛,在云南保山龙陵开笼放飞。比赛上笼864羽,参考空距530公里。
今日保山天气晴,气温11-24℃,东南风微风。地形方面,赛鸽从保山龙陵起飞后,需要翻越横断山脉南段,穿越深切峡谷;进入云贵高原后,连绵起伏的山地给赛鸽的定向和体力带来巨大挑战。
目前,小将们已在奋勇拼搏,期待它们能早日归巢。
归巢消息:
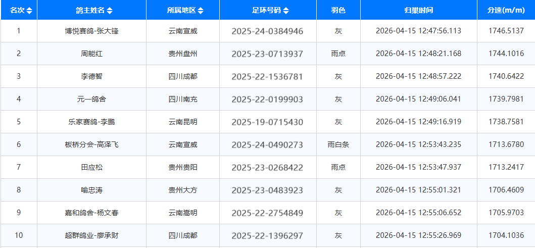
12时47分56秒,博悦赛鸽-张大锋的有一羽2025-24-0384946灰率先打钟归来,飞出1746.5137米/分的超高分速,斩获加站赛冠军。
12时48分21秒,鸽友周能红的一羽2025-23-0713937雨点打钟归来,分速1744.1016米/分,荣获加站赛亚军。
12时48分57秒,鸽友李德智的一羽2025-22-1536781灰鸽打钟归来,分速1740.6422米/分,夺得季军荣誉。
截至下午14时30分,比赛共归巢63羽赛鸽,归巢率7.29%。前10名分速均破1700米/分大关,期待更多赛鸽顺利归来!















