两千羽战将,今朝亮剑!3月25日早晨6时38分,宁夏君翼赛鸽春棚、宁夏国力赛鸽春棚打响了今春第一场长距离赛!850公里挑战赛于河南省南阳市唐河县开笼放飞,君翼上笼1008羽,国力上笼1386羽。司放地坐标经度E112°55′53.92″,纬度N32°41′29.55″,君翼实际空距815公里,国力实际空距840公里。
归巢消息:截至开笼当日下午17时57分,宁夏国力已归鸽26羽,宁夏君翼已归鸽6羽。
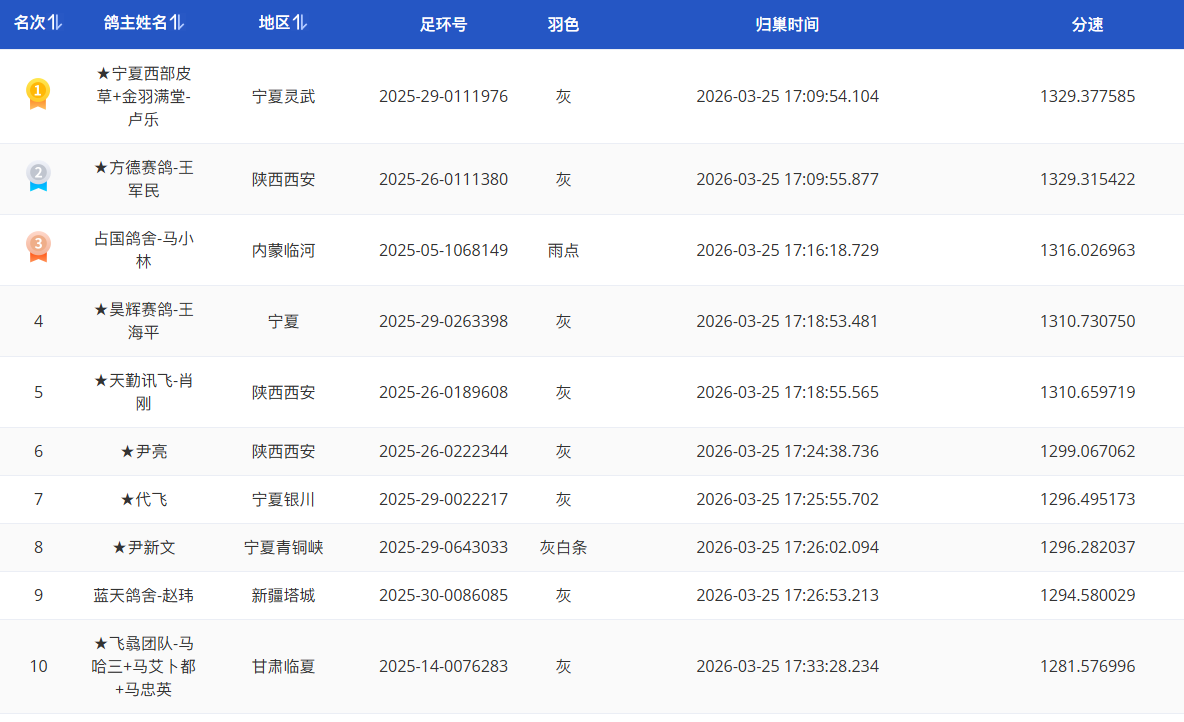
国力:下午17时09分54秒,国力春棚接连报进两羽。宁夏西部皮草+金羽满堂-卢乐麾下一羽2025-29-0111976灰,飞出1329.3775米/分的好成绩,一举摘得挑战赛冠军。
17时09分55秒,方德赛鸽-王军民麾下一羽2025-26-0111380灰紧随其后,分速1329.3154米/分,摘得亚军。
17时16分18秒,占国鸽舍-马小林麾下一羽2025-05-1068149雨点踩钟报进,分速1316.0269米/分,获得季军。
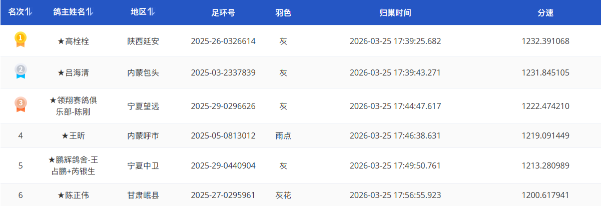
君翼:下午17时39分25秒,鸽友高栓栓麾下2025-26-0326614灰报进,分速1232.3910米/分,获得冠军。
17时39分43秒,吕海清麾下一羽2025-03-2337839灰紧随其后,分速1231.8451米/分,摘得亚军。
17时44分47秒,领翔赛鸽俱乐部-陈刚麾下一羽2025-29-0296626灰鸽踩钟报进,分速1222.4742米/分,获得季军。
天气方面,今日赛线前半程以阴天为主,后半程为多云,最高温22℃,风向由西南风转为东北风1-3级,进入陕西地界后转为北风1-3级,侧逆风将给小将们带来挑战。
地形方面,赛线整体为东南-西北走向。赛鸽在起飞后需穿越丘陵,随即深入沟壑纵横、地貌破碎的黄土高原核心区;后半程则需跨越植被稀疏的干旱半荒漠地带,最终抵达宁夏平原。整条线路集山地起伏、高原风阻与荒漠天堑于一体,只有具备卓越抗逆性的中长距离耐力型赛鸽才能脱颖而出。
据资料显示,本次挑战赛由公棚出资设奖,不收取参赛费免费参与。前三名均颁发奖杯,4-50名颁发奖牌。君翼公棚冠军奖金1万、亚军5000元、季军3000元、4-50名各1000元。国力公棚冠军奖金1.5万、亚军1万、季军5000元,4-50名各1000元。
此刻,小将们已在征途之上,期待喜讯传来,顺利归巢!



















