宁夏吴忠市信鸽协会2022年春季五关鸽王赛第一关比赛,已于2月23日早上7点53分在合水放飞,实际空距286公里。比赛共计335家鸽舍、5602羽赛鸽参赛,录取前300名,奖励方案:冠军3000元、亚军2000元、季军1000元、4-10名各500元、11-300名100元。
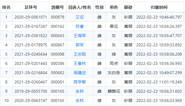
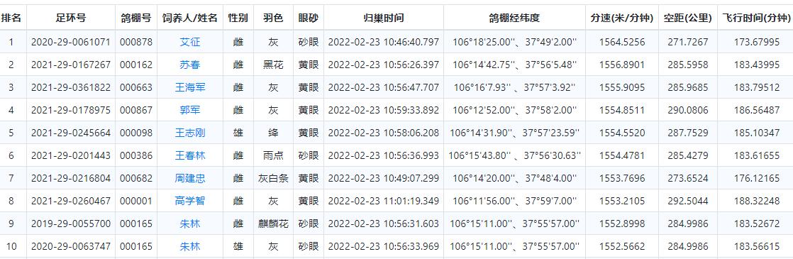
根据直播平台显示,上午10:45左右,赛鸽开始归巢报到,艾征的2020-29-0061071灰雌位列第一名,飞行271.7267公里,飞出了1564.5256米/分的最高分速。苏春的2021-29-0167267黑花雌鸽位列第二名,分速为1556.8901米/分,空距为285.5958公里。王海军的2021-29-0361822灰雌名列第三名。
冠军诞生后,赛鸽一群接着一群报进,前271名的分速均在1500米/分以上。截至下午13点40分,已有333家鸽舍、4862羽赛鸽归巢,归巢率达86.79%。以下是前10名报到成绩:
点击图片看大图
今年春赛,为了推动吴忠市与青铜峡市两地会员交流,两市鸽会联合举办WQ鸽王春季三关赛(华县、蓝田、渭南),两市统一时间与地点放飞。两鸽会联翔,免费奖励三关鸽王前50名:冠军6000元,亚军4000元,季军3000元,4-10名各1500元,11名-50名各800元。
两市联赛的第一场赛事将在下个比赛日开战,敬请期待。

吴忠市2022年春赛五关赛程表

吴忠第一站赛线图




放飞视频截图



2021年吴忠市春季四关鸽王前三甲



2019年吴忠市春季四关鸽王前三甲
2018年吴忠市春季四关鸽王前三甲



2017年吴忠市春季四关鸽王前三甲















