陕西朋悦公棚春季四关大奖赛首关比赛,于2月26日晚集鸽完毕,2月27日早8:36开笼,共集鸽7504羽,参考空距181公里,司放地陕西省渭南市蒲城县。蒲城县的气温较昨日有所回升,在0℃-17℃之间,晴转阴。
今年是陕西朋悦的首届春赛,参赛费每羽2000元,共设有4关,全部是在东北赛线竞翔:首关180-230公里、二关280-330公里、三关380-430公里、四关480-530公里,预计4月打完所有比赛。决赛共录取900名。
从风向来看,比赛全程都伴随着1-2级的轻微侧顺风,适合竞翔。希望这样的风向,能帮助小将们顺利归巢!
归巢消息:27日中午14时45分止,共归巢5200多羽,归巢率70.12%,首关赛取得了高归巢率的靓丽战绩!
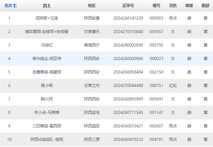
在10点53分,首批归巢的4羽赛鸽迅速打钟,抢占了前4个席位。本关50个进奖名额仅用时5分钟就全部报满。
冠军:陕西安康鸽友成英银+汪涛麾下猛将2024260141228雨点于10:53:39踏向鸽钟摘取桂冠,分速高达1320.6807米/分。成英银+汪涛上笼4羽,均当日归来,厉害!
亚军:甘肃康乐鸽友博弈展翔-赵维军+张明春麾下悍将2024270310848灰以1秒之差屈居亚军,分速为1319.8881米/分;杨淳鸽友上笼2羽,另一羽赛鸽获得491名,点赞!
季军:青海西宁鸽友马继红旗下大将2024280002890灰斩获季军,分速为1319.6491米/分。上笼两羽,两羽也是完好无损。












