4月23日,安徽天宇赛鸽中心(春棚)迎来第三关500公里决赛。早上6点6分,2402羽鸽子开笼放飞,司放地山东德州服务区,参考空距500公里,天气晴,沿途北风1-3级转侧风1-3级。
本次决赛录取前800名,前10名发放奖杯,冠军奖金8万元,亚军5万元,季军3万元,4-10名各1万元,尾奖3000元。设立三关鸽王赛,取前10名发放奖杯与奖金,还有花鸽奖、团体赛、单羽赛等。
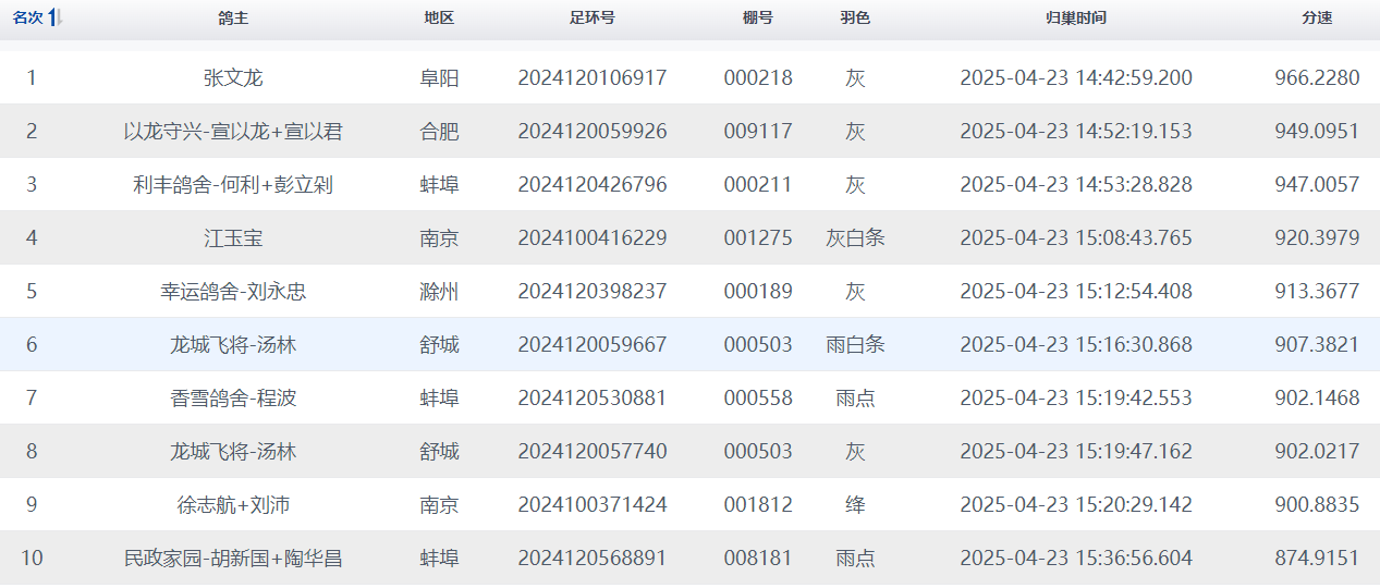
归巢数据:
经过近8个小时的等待,下午14点42分59秒,第一羽小将成功归巢。来自阜阳的鸽友张文龙旗下一羽灰鸽2024120106917率先报到,分速966.2280米/分,获得冠军宝座。
十分钟后,第二羽第三羽鸽子相继归来。鸽友以龙守兴-宣以龙+宣以君的一羽灰鸽获得亚军,环号2024120059926,分速949.0951米/分。鸽友利丰鸽舍-何利+彭立剁的一羽灰鸽2024120426796获得季军,分速947.0057米/分。
前十名中,鸽友龙城飞将-汤林有两羽鸽子进入名单,2024120059667与2024120057740分别获得第六与第八的好成绩。
截至下午16点,共归巢14羽鸽子,期待更多小将们顺利归来。
前十成绩截图
开笼现场

















