5月25日,2025年信鸽国家赛最后一场商都赛区的比赛在内蒙古自治区乌兰察布市商都县开笼放飞。当天早晨5时09分,来自东北的小将们向着千公里之外的巢穴振翅而去。比赛参考空距1000公里,共计上笼910羽,其中吉林省长春市信鸽协会共集鸽176羽。点击查看比赛成绩>>
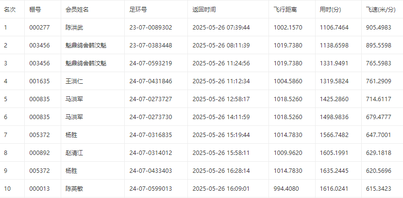
次日一早,长春地区冠军打钟报到。早晨7时39分,鸽友陈洪武的一羽2023-07-0089302突破千里极限率先归来,分速905.4983米/分,实际空距1002.157公里,成为本次比赛冠军。
本次千公里亚军与季军的宝座被名家韩汶魁一举包揽。早晨8时11分,赛鸽2023-07-0383448归巢报到,分速895.5598米/分,摘得亚军。三小时后,韩鸽友又报进一羽赛鸽2024-07-0593219,分速765.5983米/分,摘得季军,实际空距1019.738公里。
据悉,在此前的锡林浩特国家700公里竞速中,韩鸽友也荣获长春市季军,飞出了1417.9784的高分速。韩鸽友是1984年长春信鸽协会成立时就加入的老鸽友,玩鸽已有40年,凭西翁韩系血统在中长距离的比赛中多次高位进奖。
殿军被鸽友王洪仁拿下,赛鸽环号2024-07-0431846,分速761.2909米/分,实际空距1004.586公里。鸽友马洪军拿下第五、第六两个名次,前十报进两羽,可喜可贺。
本次商都国家赛,长春鸽会共归巢26羽千公里战将,归巢率21.02%。下面一起来欣赏千公里归巢鸽的风采。
比赛前十名截图
冠军陈洪武


第四名 王洪仁


第五名 马洪军


第六名 马洪军


第七名 杨胜


第八名 赵清江


第九名 杨胜


第十名 陈英敏


















