本周,福建夏赛战火继续。6月30日,福建福州台江区信鸽协会夏季预赛正式开赛。早晨5时51分,4825羽福州小将在江西乐安司放。
比赛空距375公里,司放地天气晴,风向南风,风力微风,气温25℃-35℃,赛鸽前半程侧逆风,进入福建地域后天气转为多云,风向转为北。赛鸽将穿过东南丘陵大大小小的山峰峡谷,并攀越武夷山脉,赛线难度不小。比赛数据直播>>
在此前6月25日举办的夏赛第二站泰宁的比赛中,台江区鸽会的鸽友雄丰林成福的一羽2024-13-0329976DF以实际空距229.976公里,分速1190.4002米/分,夺得冠军。林鸽友还有11羽赛鸽已归巢,还获得了第9、15、25的高位成绩,这在炎热的夏赛中属实不容易。(点击阅读此前报道)当日福州有四家鸽会同日开赛,有两家鸽会险灭关,台江鸽会归巢率却达82%,共归巢4915羽赛鸽,赛出不一样的风采。
不知道今日比赛结果如何,期待小将们突破高温挑战,顺利归巢。
归巢消息:
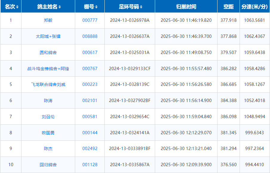
开笼六个小时后,比赛的冠亚军几乎同时归巢。上午11时46分19秒,鸽友郑毅的一羽2024-13-0326978A顺利报进,夺得冠军。飞行分速1063.5681米/分,实际空距377.918公里,这羽赛鸽在此前的第二站比赛中排名1854,一关中排名1557,预赛获得冠军,可谓后来居上。郑鸽友还有两羽赛鸽已归巢,分别获得20名、293名。
11时46分39秒,鸽友太阳城+张镭的一羽2024-13-0326637A顺利报进,拿下亚军。飞行分速1062.4367米/分,飞行空距377.868公里,恭喜张鸽友。
11时49分08秒,来自圆和鸽舍的一羽2024-13-0325031A打钟归巢,获得季军。飞行分速1059.6438米/分,飞行空距379.507公里,该鸽舍另有一羽赛鸽获得188名。
可以看到本次预赛前十的飞行分速均在一千一以下,不算太高,足以见高温对赛鸽的影响是巨大的。截至下午14时30分,开笼第9小时,共归巢535羽赛鸽,归巢率11.09%,仅有一成。期待剩下的小将顺利归巢。
前十成绩截图
一关南平开笼瞬间


赛线图















