福建台江区信鸽协会2025年夏季决赛站,于7月15日早5点50分开笼,本次共集鸽2079羽,飞行空距526公里,司放地江西宜春。查看沿途天气可发现,整体是晴天,只是风向比较多变,气温最高可达36℃。
本届比赛共9808羽赛鸽起站,打到决赛仅剩两千羽左右的赛鸽上笼,这和艰难的赛线脱不开关系:台江区鸽会没有选择轻松的沿海赛线,而是选择往大山深处飞,小将们不仅要与炎热的天气作战,还要面对崎岖的山路和频繁出没的天敌。
就拿这次决赛的路线来说,高温与多变风向是核心挑战:36℃极端高温易导致赛鸽热应激,午后飞行时段体力消耗加剧,而风向多变会干扰导航、增加绕行风险,叠加武夷山脉地形起伏及猛禽干扰,实际飞行距离可能超出空距;同时,山区气流紊乱、午后潜在雷雨隐患及高湿度环境进一步考验赛鸽耐力和适应性。
祝愿小将们飞出好成绩!
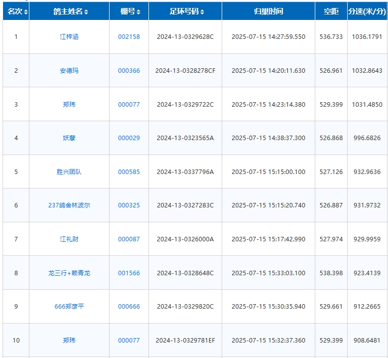
归巢消息:截至16点50分,台江鸽会决赛共归巢15羽赛鸽,前十名中,分速破千的仅有三羽赛鸽,从这些数据可见,本场决赛是一场难度较高的攻坚战。接下来是前三名的归巢详细情况。
鸽友江梓涵的2024-13-0329628C在14:27完成打钟,飞行空距536.733公里。这羽赛鸽虽然不是最早打钟的鸽子,但分速达到了1036.1791米/分,获得本次决赛冠军;
鸽友安德玛的2024-13-0328278CF获得决赛亚军,打钟时间14:20,飞行空距526.961公里,分速1032.8643米/分;
鸽友郑玮的2024-13-0329722C,飞行空距529.399公里,分速1031.4850米/分。



福建台江区协会首关万羽大赛开笼












