7月16日,福建莆田赛鸽俱乐部精英赛在浙江慈溪市开赛。本次精英赛上笼847羽,参考空距为580公里。
早上5时10分,八百多羽小将踏上了回家的路程。司放地慈溪当天最低温度28℃,沿途最高温度37℃,一路伴有小到中雨。高温加雨水让天气如同蒸笼一般,再加上大大小小起伏的丘陵和沿途的天敌,对赛鸽来说是一个不小的挑战。比赛数据直播>>
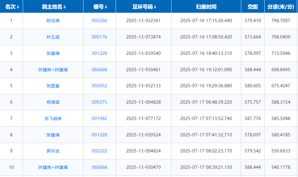
经过12小时的漫长等待,第一羽归巢鸽终于归来。17时8分,鸽友林玉斌的2025-13-073874率先打钟归来,空距573公里,以798.0409米/分的速度下亚军宝座。
7分钟后,鸽友陈佳德的一羽2025-13-932361成功报进,空距579.410公里,分速798.7007米/分,后来居上夺得本场冠军。
18时40分,鸽友张建清的一羽2025-13-030540报进,空距578.097公里,分速713.5046米/分,获得季军荣誉。
7月16日当天,仅有五羽赛鸽归巢。截至17日早晨9时,共归巢12羽赛鸽,归巢率仅1.42%。在此前的夏季赛中,福建莆田赛鸽俱乐部的归巢率都稳定在六成以上,最高有九成,本次精英赛遭遇滑铁卢,更是映照出了夏赛的残酷以及高温雨水对赛鸽归巢的巨大影响。前十成绩截图

赛线图














