7月21日,四川广安市广安区信鸽协会与广安光前赛鸽服务中心在广元昭化分别开启了一关和二关的赛事,1256羽川鸽挑战高温赛事。
早晨6时18分,广安区鸽协25年火热杯第一关昭化站开笼放飞。司放羽数355羽,司放地广元昭化,参考空距229公里。数据直播
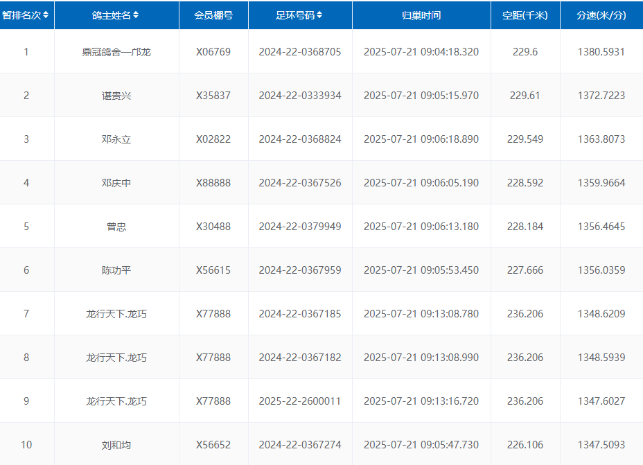
三小时不到,陆续有鸽归巢。9时04分,鸽友鼎冠鸽舍—邝龙的一羽2024-22-0368705率先归巢,以1380.5931米/分,229.6公里的成绩拿下一关冠军。
一分钟后,鸽友谌贵兴的一羽2024-22-0333934打钟归巢,分速1372.7223分速,空距229.61公里,拿下亚军。紧接着鸽友邓永立的一羽2024-22-0368824打钟归巢,分速1363.8073分速,空距229.5公里,夺得季军。
截至上午9时50分,已归巢121羽。
前十成绩截图

早晨6时28分,广安光前赛鸽服务中心第二关开笼放飞。司放羽数901羽,司放地广元昭化,参考空距220公里。数据直播
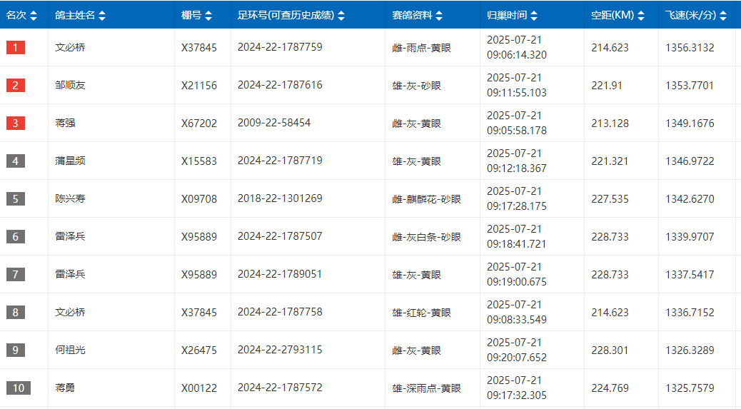
早晨9时06分,鸽友文必桥的一羽黄眼雨点雌,环号2024-22-1787759顺利报进,分速1356.3132米/分,空距214公里,拿下二关冠军,该鸽友另有3羽赛鸽也已顺利归巢,位列8、36、43名。
鸽友邹顺友的一羽砂眼灰雄顺利报进,环号2024-22-1787616,分速1353.7701米/分,空距221公里,获得亚军。鸽友蒋强的一羽黄眼灰雌,环号2009-22-58454顺利报进,分速1349.1676米/分,空距213.128公里,获得季军。
截至上午9时50分,已归巢73羽。
司放地广元昭化今日天气阴,气温24-35℃,西北风3级,沿途天气晴,归巢地广安区有雷阵雨,最高气温37℃。期待剩下的蜀地小将顺利归巢。
前十成绩截图














