得益于独特的自然自然地理环境,贵州省气候冬暖夏凉,无酷暑严寒。因此,不论是春赛还是秋赛,贵州省都比全国大部分地区开始要早。8月14日,贵州纳雍龙健玉龙赛鸽中心秋季特比资格赛与飞宏赛鸽中心幼鸽决赛打响。早晨8时18分,两俱乐部共计放飞587羽赛鸽。
司放地贵州遵义红花岗,司放坐标E106°58′05.87″,N27°37′17.26″,参考空距167公里,沿途天气阵雨到多云,南风转北风1-3级,温度在20-30℃之间。赛鸽需面对复杂的气流变化,同时穿梭群山之间,虽空距较短,但仍充满挑战。期待这些贵州小将们能顺利归巢。
比赛直播:贵州纳雍龙健玉龙赛鸽中心 贵州纳雍飞宏赛鸽中心
开笼三小时后,比赛陆续开始归鸽。
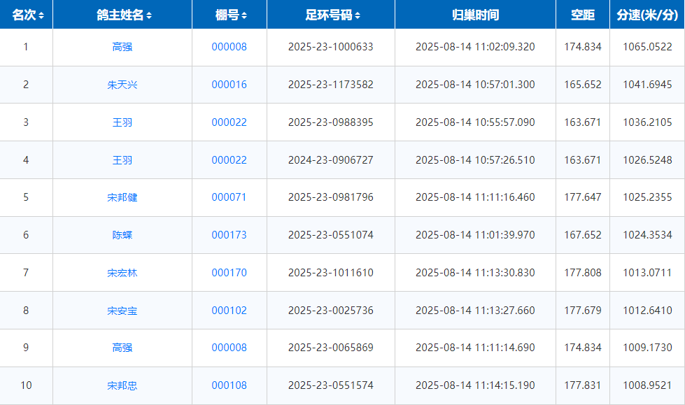
贵州纳雍龙健玉龙赛鸽中心:
冠军:鸽友高强的一羽2025-23-1000633,于上午11时02分顺利报进,空距174.834公里,分速1065.0522米/分。
亚军:鸽友朱天兴的一羽2025-23-1173582,于10时57分报进,空距165.652公里,分速1041.6945米/分。
季军:鸽友王羽的一羽2025-23-0988395,于10时55分报进,空距163.671公里,分速1036.2105米/分。同时,王鸽友的另有一羽2024-23-0906727比季军晚两分钟打钟,分速1026.5248米/分,拿下殿军,前十占两羽,恭喜。
截至14时20分,仅有57羽赛鸽归巢,归巢率12.21%。
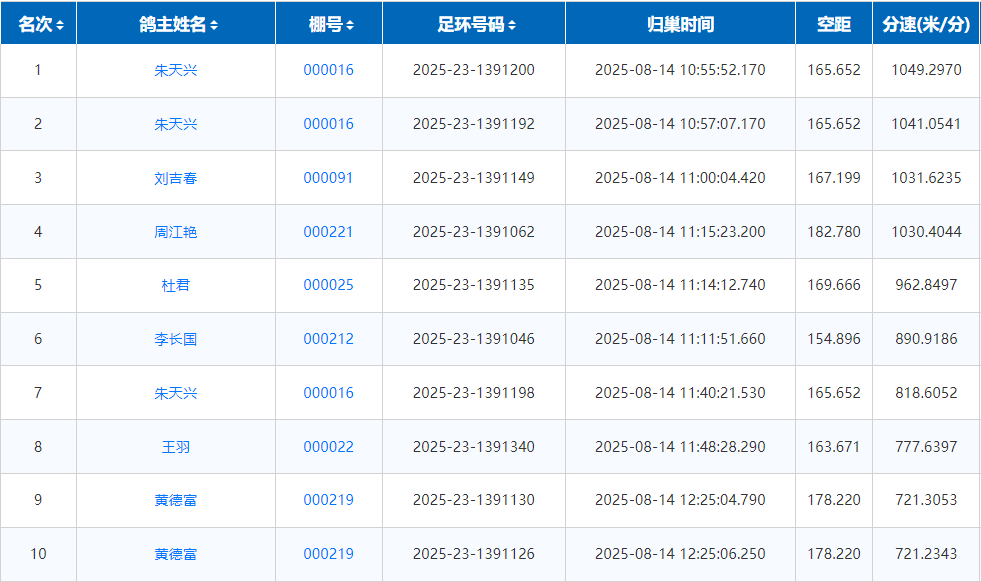
贵州纳雍飞宏赛鸽中心:
在幼鸽决赛上,鸽友朱天兴名下两羽赛鸽在11时前顺利归巢,一举包揽冠亚军。赛鸽环号2025-23-1391200,分速1049.2970米/分,拿下冠军。赛鸽环号2025-23-1391192,分速1041.0541米/分,获得亚军。
鸽友刘吉春的一羽2025-23-1391149于11时整报进,空距167.199公里,分速1031.6235米/分,拿下季军。
截至14时20分,仅有14羽小将归巢,归巢率仅11.67%。
比赛赛线

天气情况














