8月20日早晨6时30分,广东揭阳产业转移工业园信鸽协会、广东揭阳市联翔赛鸽俱乐部秋季铁鸽五关赛第二关正式打响!本关空距陡增,来到了400公里。两会共计2298羽小将开始了这场山区征途。
司放地江西抚州南丰县天气晴,西南风1-3级,最高气温36℃。沿途及归巢地均有小到中雨,后半程转北风。赛线由北向南跨越武夷山与粤东丘陵地带,山区间局部易出现晨雾,对赛鸽的能见度造成挑战。
本届铁鸽五关挑战赛,从8月6号开始资格赛比拼,预计打到9月6号。在8月15日330公里的一关比赛中,两会飞出了超八成的良好归巢率,经过4天的休整,期待小将们飞出好成绩!
下午13时左右,鸽子开始陆续归巢。
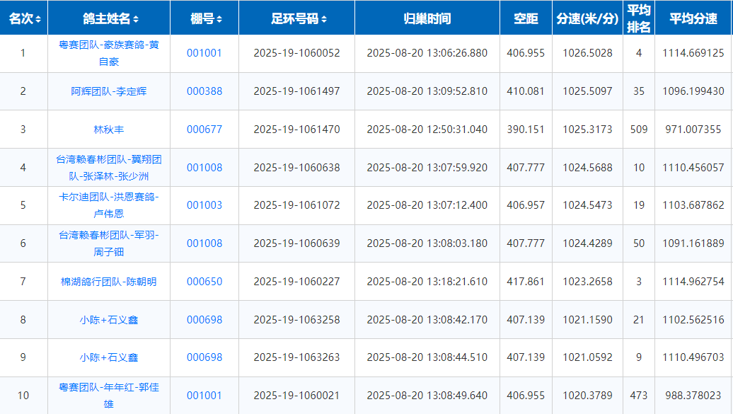
广东揭阳联翔赛鸽俱乐部:
下午13时06分,粤赛团队-豪族赛鸽-黄自豪的一羽2025-19-1060052顺利报进,分速1026.5028米/分,空距406.955公里,拿下二关比赛的冠军。综合第一关1243.3729米/分的分速,黄自豪鸽友的这羽赛鸽暂列鸽王第四。
仅仅三分钟后,下午13时09分,阿辉团队-李定辉的一羽2025-19-1061497报进,分速1025.5097米/分,空距410.081公里,夺得本关亚军。
下午12时50分,林秋丰鸽友的一羽2025-19-1061470本场最早报进,由于空距稍短,最后凭借1025.3173米/分,空距390.151公里的成绩拿下季军。
截至下午14时15分,共归巢560羽赛鸽,归巢率26.68%。
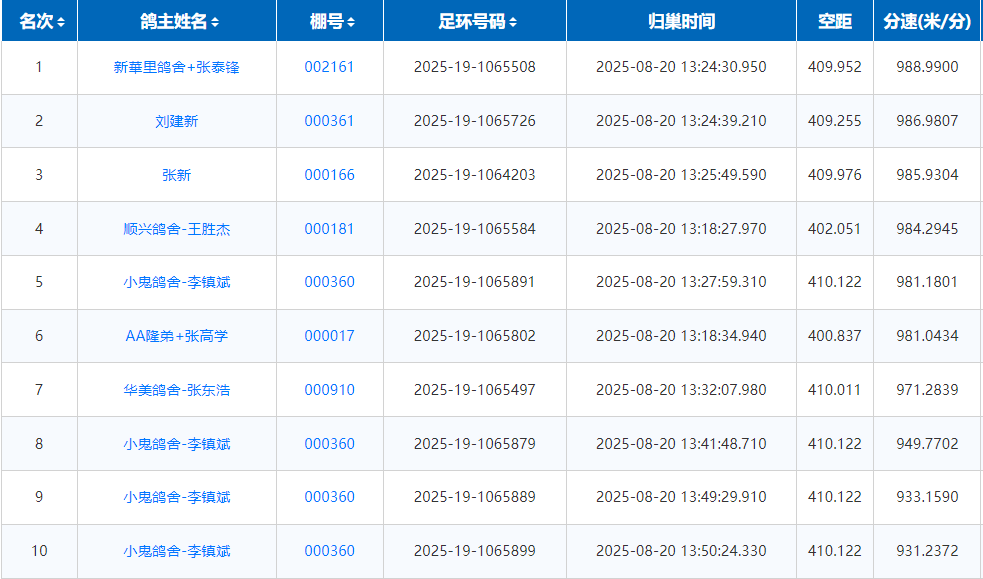
广东揭阳产业转移工业园信鸽协会:
下午13时24分30秒,新華里鸽舍+张泰锋的一羽2025-19-1065508报进,分速988.9900米/分,空距409.952公里,拿下本关冠军。
下午13时24分39秒,刘建新鸽友的一羽2025-19-1065726报进,分速986.9807米/分,空距409.255公里,夺得本关亚军。
下午13时25分49秒,张新鸽友的一羽2025-19-1064203报进,分速985.9304米/分,空距409.976,拿下本关季军。该鸽友另有一羽1063551顺利报进,排名14名。
截至下午14时15分,共归巢27羽,归巢率13.85%。
可以看到本场比赛前位名次分速咬的特别紧,特别是联翔赛鸽俱乐部的前三甲,三羽赛鸽的分速差值不足1.2米/分,上演了“分秒定胜负”的巅峰对决,也让这场铁鸽五关赛的后续征程更引人关注。
联翔赛鸽俱乐部成绩截图
产业转移工业园信鸽协会成绩截图
集鸽现场


赛线图















