8月26日早晨6时30分,广东揭阳市联翔赛鸽俱乐部、广东揭阳产业转移工业园信鸽协会2025年秋季铁鸽五关第三关在江西南丰B站开笼!两会共计上笼1378羽,本关空距与上关一致,为400公里。
司放地江西抚州南丰县天气晴,西风1-3级。沿途天气以晴、多云为主,最高气温37℃,后半段赛程西风转北风1-3级。赛线由北向南跨越武夷山与粤东丘陵地带,山区间局部易出现晨雾,上午时段气温逐渐升至30℃以上,高温对赛鸽的体能造成挑战。
在第二关挑战中,两千多羽小将遭遇了雨天与逆风,广东揭阳市联翔赛鸽俱乐部归巢1309羽,归巢率63.01%。广东揭阳产业转移工业园信鸽协会归巢88羽,归巢率45.13%。
中午11时30分左右,赛鸽陆续归巢。
广东揭阳市联翔赛鸽俱乐部:
粤赛团队-林卫佐鸽友的两羽爱将于11时27分一同归来,先后打钟。环号2025-19-1060047的赛鸽凭借分速1366.5655米/分的优秀成绩拿下冠军,鸽王排名暂排22名。另一羽赛鸽2025-19-1060050,分速1366.2352米/分,夺得季军,在鸽王排名赛中暂排第6名。
阿辉团队-李定辉鸽友的一羽2025-19-1061497于11时30分报进,分速1366.3658米/分,空距410.081公里,获得亚军。这羽赛鸽在前两关的比赛中也表现出色,飞得又稳又快,目前鸽王排名暂排第三,三关平均分速1178.5157米/分。
三关打完,目前暂排鸽王冠军的是粤赛团队-豪族赛鸽-黄自豪的一羽2025-19-1060052。这羽鸽子在本次第三关中排名22名,综合三关平均分速为1187.9570米/分。
截至下午14时10分,共归巢1072羽赛鸽,归巢率82.97%,可以说表现极佳,祝贺各位鸽友。
广东揭阳产业转移工业园信鸽协会:
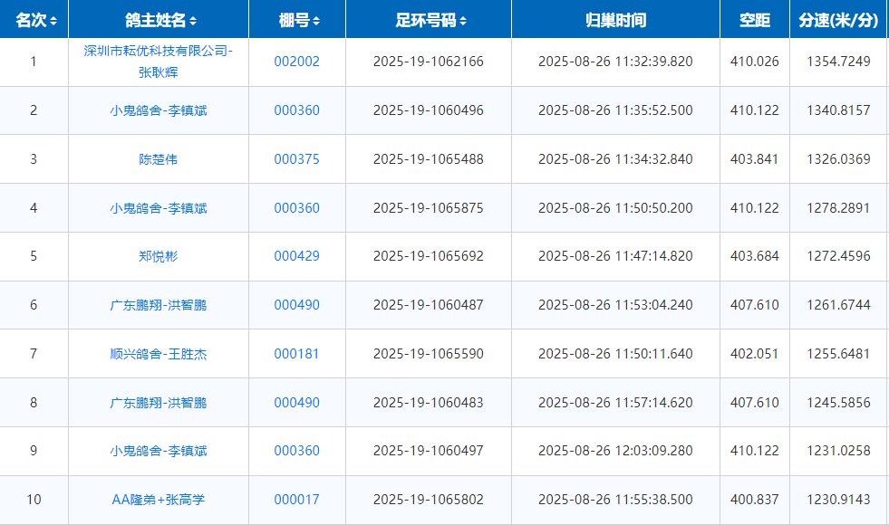
深圳市耘优科技有限公司-张耿辉鸽友的一羽2025-19-1062166,于11时32分报进。空距410公里,平均分速1354.7249米/分,拿下本关冠军。
小鬼鸽舍-李镇斌鸽友的一羽2025-19-1060496,于11时35分报进,空距410公里,平均分速1340.8157米/分,获得亚军。该鸽友另有一羽2025-19-1065875于11时50分报进,分速1278.2891米/分,拿下殿军。另有赛鸽获9名、11名、13名、14名、20名的高位,恭喜李鸽友。
陈楚伟鸽友的一羽2025-19-1065488,于11时34分报进,空距403公里,平均分速1326.0369米/分,获得季军。
截至下午14时20分,共归巢55羽赛鸽,归巢率63.95%。
联翔赛鸽俱乐部成绩截图
产业转移工业园鸽会成绩截图
开笼瞬间
















