8月27日早晨5时30分,内蒙古通辽市科尔沁区开创者信鸽协会2025年秋季120公里速度赛,在双山服务区开笼。比赛共集鸽4390羽,参考空距120公里,司放地天气晴,北风1级。
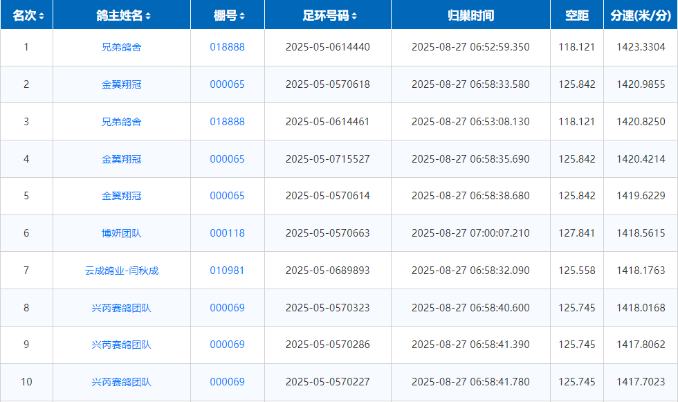
比赛开笼一个半小时不到即见鸽。兄弟鸽舍的两羽赛鸽几乎同时归来,先后打钟。一羽2025-05-0614440于早晨6时52分59秒率先报进,空距118.121公里,分速1423.3304米/分,夺得本关冠军!另一羽2025-05-0614461于6时53分08秒报进,分速1420.8250米/分,拿下季军!
金翼翔冠同样表现出色,三羽杀入五强,分别拿下了第2名、第4名、第5名,另有一羽获得第14名的好成绩。亚军鸽环号2025-05-0570618,飞行空距125.842公里,分速1420.9855米/分。
截至上午9时30分,比赛共归巢4135羽赛鸽,归巢率94.15%。
本次比赛是该协会秋季大奖赛的第一站。按照规程,今年秋天该协会将举办120公里、170公里、200公里三场短程赛,235公里与340公里两场收费站,4场500公里以上的四关赛,共计9场比赛。
比赛特比环精英赛分为100组与500组,100组四关综合鸽王冠军奖金2万,500组四关综合鸽王冠军奖金10万。普环决赛奖金500元,亚军400元,季军300元,4-10名100元,尾奖50元。成绩截图
开笼瞬间


集鸽现场














