秋高气爽,正是竞翔好时节。8月28日,贵州六枝特区信鸽协会、贵州都匀建铭赛鸽俱乐部先后打响了秋季资格赛,超两千羽赛鸽空中竞翔。
早晨7时10分,山间薄雾渐散,贵州六枝特区信鸽协会在摆金镇开笼,共计放飞1280羽赛鸽,参考空距134公里,司放地天气晴,西风转南风,晨间伴有薄雾,气温19-30℃。点击查看比赛直播>>
早晨7时21分,贵州都匀建铭赛鸽俱乐部放飞1024羽赛鸽,司放地广西河池,参考空距190公里,司放地天气晴,东南风1级,气温24-34℃。点击查看比赛直播>>
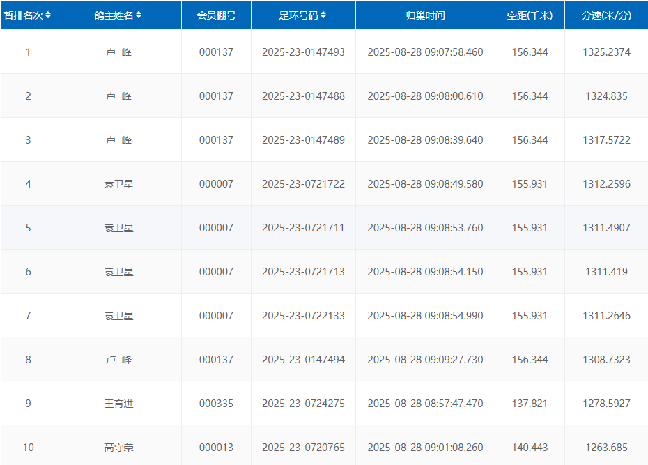
贵州六枝特区信鸽协会归巢消息:
开笼仅两小时,第一批赛鸽归巢。鸽友卢峰的表现最为抢眼,其名下四羽爱鸽几乎同时归巢,取得了冠、亚、季军与第八名的好成绩:
冠军:环号2025-23-0147493,分速1325.2374米/分,空距156公里。
亚军:环号2025-23-0147488,分速1324.835米/分。
季军:环号2025-23-0147489,分速1317.5722米/分。
鸽友袁卫星的表现也可圈可点,斩获了第4、第5、第6、第7的好成绩。殿军环号2025-23-0721722,空距155.931公里,分速1312.2596米/分。
截至下午14时整,比赛共归巢745羽,归巢率58.2%。
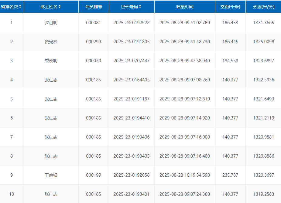
贵州都匀建铭赛鸽俱乐部归巢消息:
鸽友罗祖明的一羽2025-23-0192922于9时41分02秒报进,空距186.453公里,分速1331.3665米/分,斩获本场冠军。
鸽友饶光林的赛鸽2025-23-0191805紧随其后,于9时41分42秒报进,空距186.445公里,分速1325.0098米/分,拿下本场亚军。
鸽友李宏明的一羽2025-23-0707447于09时47分58秒报进,空距194.559公里,分速1323.6897米/分,拿下季军。
本场比赛张仁志鸽友虽然未获得前三甲,但实现了大包揽,一人横扫拿下了第四到第八、第十、十一、第十三到十五,共计十个高位名次。殿军鸽于早上9时07分08秒报进,环号2025-23-0164405,空距140.377公里,分速1322.5936米/分。
截至下午14时整,共归巢442羽,归巢率43.16%。
六枝特区成绩截图
都匀建铭赛鸽俱乐部














