8月29日,贵州省三家俱乐部同在贵州省铜仁市石阡县开启200公里的竞速,共计放飞7036羽赛鸽,一场热血竞逐就此拉开帷幕。
早晨6时56分,贵州清镇腾盛恒达赛鸽俱乐部秋季联翔环资格赛开笼,放飞赛鸽5040羽。紧接着,早晨7时01分,贵州修文信鸽协会特比环第一关及有奖赛开笼,放飞赛鸽1150羽。7时18分,贵州清镇卫城赛鸽俱乐部第一关也顺利开笼,放飞赛鸽846羽。以下是直播链接:
今日司放地石阡县距离归巢地约200公里,沿途挑战重重:最高温35℃,天气为多云转阵雨,赛鸽全程侧逆风飞行;赛线地形整体以山地、丘陵为主,喀斯特地貌突出,重峦叠嶂、山高谷深,地形复杂度拉满。即便前路多艰,仍期待这些小将们能突破重重关卡,顺利归巢。
归巢消息:上午9点30以后,赛鸽开始陆续归巢。
贵州清镇腾盛恒达赛鸽俱乐部:
上午9时27分49秒,鸽友范军的一羽2025-23-0173506,分速1221.5815米/分,空距185.466公里,勇夺冠军。紧接着4秒后,该鸽友的另一羽2025-23-0173509报进,分速1221.0346米/分,又顺利拿下亚军!恭喜范鸽友包揽冠亚军。
上午9时27分24秒,鸽友永宁团队-周刚的一羽2024-23-1271821报进,分速1215.5880米/分,空距184.054公里,获得季军。
截至上午11时15分,共归巢3313羽赛鸽,归巢率65.73%。
贵州修文信鸽协会:
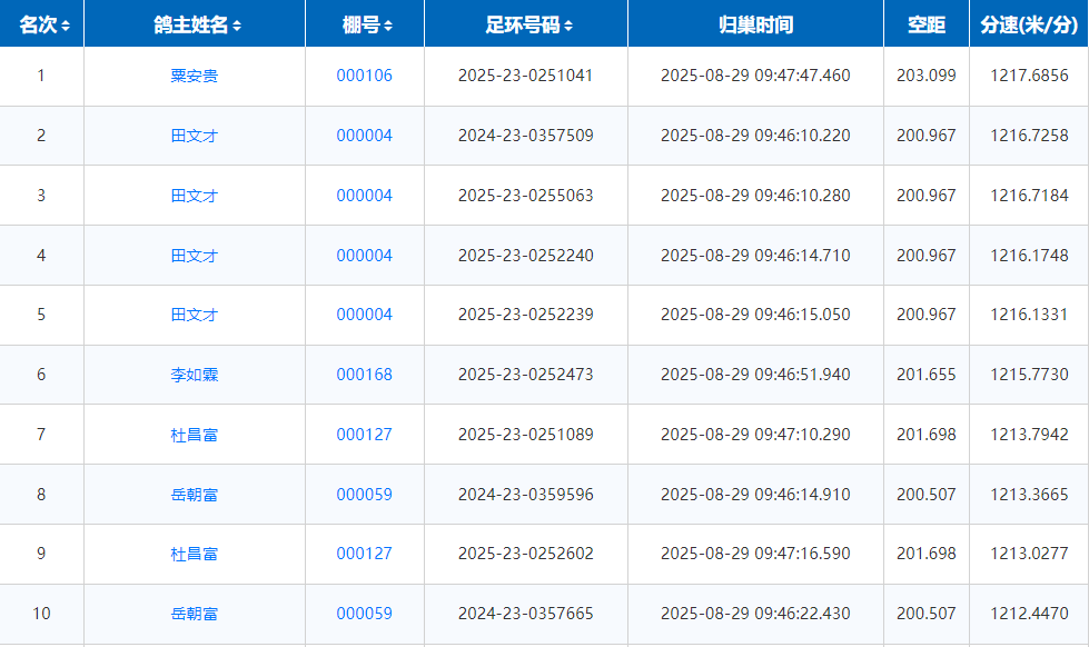
鸽友粟安贵的一羽2025-23-0251041,于9时47分报进,分速1217.6856米/分,空距203.099公里,拿下冠军。
鸽友田文才的鸽群表现亮眼,获得了前五占四羽的梦幻赛绩,一举拿下亚军-第五名的所有位次。亚军环号2024-23-0357509,分速1216.7258米/分,空距200.967公里。季军环号2025-23-0255063,分速1216.7184米/分。
截至上午11时15分,共归巢813羽赛鸽,归巢率超七成。
贵州清镇卫城赛鸽俱乐部:
上午10时32分,鸽友李忠祥的一羽2025-23-1142604报进,空距228.632公里,分速1177.1644米/分,拿下一关冠军!
上午10时27分,鸽友余阳龙的一羽2025-23-0091863报进,空距220.595公里,分速1164.6439米/分,获得亚军。
上午10时28分,鸽友文长发的一羽2025-23-0091997报进,空距220.948公里,分速1162.0708米/分,获得季军。
截至上午11时25分,共归巢336羽赛鸽,归巢率39.72%。
赛线图

















