9月5日早7点28分,贵州纳雍百兴翱翔赛鸽俱乐部240公里预赛站,在云南曲靖马鸣开笼,本次共集鸽1763羽,参考空距239公里。赛线沿途都是多云天气,气温30℃,北风1-3级。
翱翔赛鸽俱乐部今年秋赛共计三关,共分为120公里资格赛、220公里预赛以及400-500公里决赛。期待小将们取得好成绩!
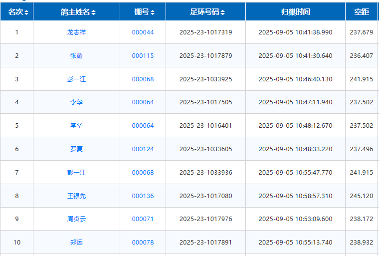
归巢消息:上午10:41,赛鸽们陆续归巢,鸽友龙志祥的2025-23-1017319,打钟时间10:41:38,飞行分速1227.3649 米/分,获得冠军。亚军是张循的2025-23-1017879,分速1221.6743米/分;季军彭一江的2025-23-1033925,分速1217.6797米/分。截至下午两点,共归巢二百余羽赛鸽。















