秋赛火热开启,好戏连台。9月9日,内蒙古通辽市两鸽会同日打响怀德站比赛,共计放飞5000多羽赛鸽,鸽友们参赛热情高涨。
5点40分,通辽市信鸽协会210公里比赛正式开笼。司放地为公主岭市怀德服务区,实际空距211公里,共有4779羽赛鸽出征。比赛节奏紧凑,归巢迅速。点击查看直播>>
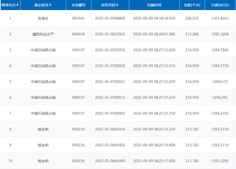
截至上午9点13分,已有3900多羽赛鸽顺利返巢,归巢率超八成,整体表现稳定。最终,来自张福生的2025-05-0598860赛鸽,以1301.4203米/分的成绩拿下冠军。接着,鑫阳牧业庄严的2025-05-0653925获得亚军,平均分速1295.3208米/分。
中福石油高占福的2025-05-0599256摘下季军,平均分速1294.7842米/分。之后,这位鸽友连连报进,一举包揽殿军、5名、6名、7名。前七占五,实力了得。
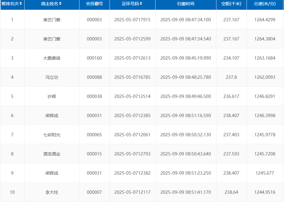
同一时间,清晨5点40分,通辽鸽会余粮堡分会开启240公里比赛,实际空距237公里,集鸽371羽,司放地同样为怀德服务区。截至9点13分,已有200羽赛鸽归巢,归巢率过半,比赛顺利进行。点击查看直播>>
最终,鸽友美艺门窗率先传来捷报,两羽赛鸽接连踏响归巢鸽钟,表现抢眼。其中,赛鸽2025-05-0717915以1264.43米/分的速度勇夺冠军,另一羽2025-05-0712599紧随其后,以1264.38米/分的成绩摘得亚军。季军由大鹏赛鸽的2025-05-0712613获得,平均分速为1263.17米/分。
通辽市信鸽协会前十
通辽鸽会余粮堡分会前十
开笼画面
















