秋意虽至,但广东的天气依然炎热,而鸽友们的参赛热情却丝毫未减。9月15日早上6点30分,广东汕头顺翔俱乐部正式开启南北四关鸽王赛的第二场资格赛。本次比赛从福建仙游放飞,共集鸽3163羽,参考空距为296.27公里。
回顾首场资格一精彩开局,以精英团队飞出梦幻包揽前十一名,表现令人惊叹。而作为一家有14年办赛经验的俱乐部,其“南北双向”的特色赛线设计,也使得赛事更具挑战性。按照规程,本届南北四关鸽王赛预计在十月中旬全部结束,后续赛况值得期待。
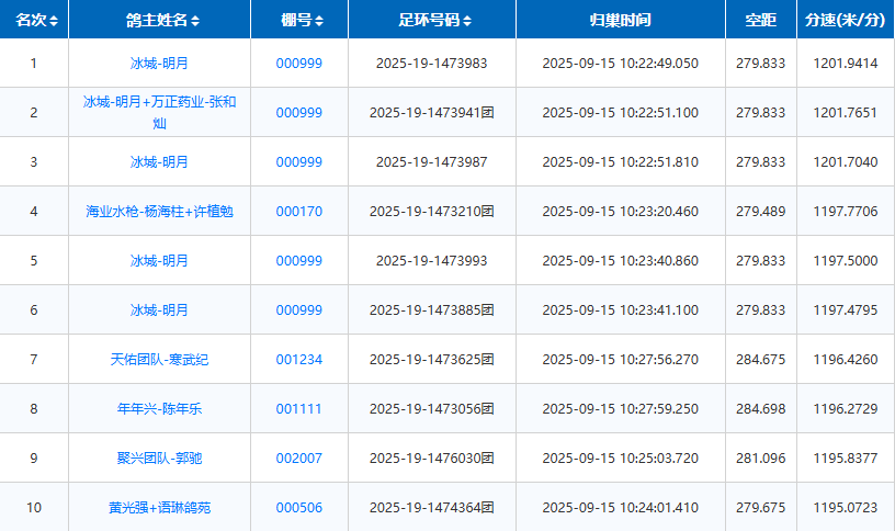
10点22分左右,冰城-明月团队三羽赛鸽接连踏响鸽钟。冠军由冰城-明月的赛鸽2025-19-1473983摘得,以1201.9414米/分的高分速率先报到。亚军为冰城-明月与万正药业-张和灿联合参赛的2025-19-1473941;季军则由冰城-明月的另一羽精兵2025-19-1473987夺得。
本场比赛,冰城-明月团队延续强势表现,不仅包揽冠、亚、季军,还斩获第5、第6名,共五羽赛鸽强势入围前十,再传捷报。

















