9月30日7时28分,宁夏中卫赛鸽公棚2025年秋季大奖赛100公里收费站正式鸣枪开赛,1.5万羽小将竞翔西北天空。
比赛在宁夏同心县王团镇石头河开笼放飞,共集鸽15516羽,司放地天气晴朗,基本无风,赛鸽走势良好。
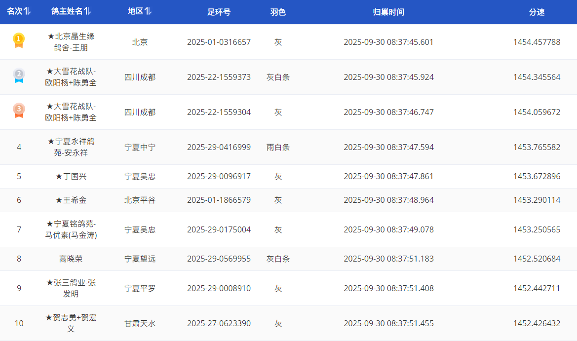
一小时左右,大批赛鸽归巢落台。获得冠军的是北京晶生缘鸽舍-王朋鸽友,足环号2025-01-0316657,羽色灰,分速1454.4578米/分。亚季军则由来自四川成都的鸽友大雪花战队-欧阳杨+陈勇全包揽,亚军鸽足环号2025-22-1559373,分速1454.3455米/分,羽色灰白条;季军鸽足环号2025-22-1559304,分速1454.0596米/分,羽色灰色。
截至早晨9时16分,已归巢12629羽,归巢率已超八成,拿下开门红。
按照规程,宁夏中卫赛鸽公棚2025年秋季大奖赛参赛费3300元。将举办常规赛、精英赛、鸽王赛、团体赛等项目,除100公里收费站外,还将举办180-200公里热身赛,280-330公里第一关,380-430公里第二关,500-530公里第三关四关比赛。决赛取奖1000名,前十名发放精美奖杯,冠军奖金100万,亚军奖金50万,季军奖金20万,4-10名10万,11-600名2万,尾奖1.5万。
















