10月11日,唐山阳光俱乐部2025年秋季五关联翔赛第一关,在内蒙古赤峰市巴林右旗开笼。本次共集鸽34189羽,其中东部赛区15205羽、西部赛区18984羽。这是一场声势浩大的比赛,参考空距503.74公里。司放地天气多云,西风1-2级。
作为国内知名度颇高的赛事,唐山阳光今年也没有让大家失望,起手就是3.4万羽的秋赛大场面,名家出手、强豪争锋,可以预见,本场赛事将十分精彩。
比赛分为东部赛区、西部赛区,第一关500公里是两区联合比赛,之后四关比赛,两个赛区将单独计算成绩。可以说,这是五关比赛的首场试炼。不知道有多少赛鸽能拿下本关,为主人取得好成绩?
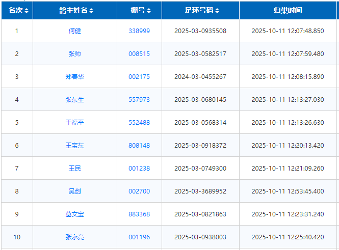
归巢情况:12点左右,赛鸽开始归巢。这是一场顺风大赛,冠军分速达到1642米/分,成绩喜人。以下是详细赛况:
冠军来自鸽友何健名下的2025-03-0935508,打钟时间12:07:48,飞行空距508.769公里,分速1642.1747米/分;
亚军获得者是鸽友张帅,他的爱将2025-03-0582517,于12:07:59打钟,飞行空距503.798公里,分速1625.2003米/分。
季军郑春华,赛鸽环号2024-03-0455267,飞行空距497.708公里,分速1604.1393米/分。
截至中午两点半,已有1.5万羽赛鸽归巢,归巢率45.4%。















