11月1日7时02分,唐山市信鸽协会和唐山阳光赛鸽俱乐部五关联翔赛第四关,在内蒙古赤峰市巴林左旗开笼。本次比赛共集鸽13112羽,其中东部赛区6332羽,西部赛区6780羽。
今日司放地天气晴,气温零下4到6℃,风向西北风,风力1-2级,赛鸽放飞后走势良好。参考空距503.13公里,期待小将们能够顺利归巢。点击查看直播
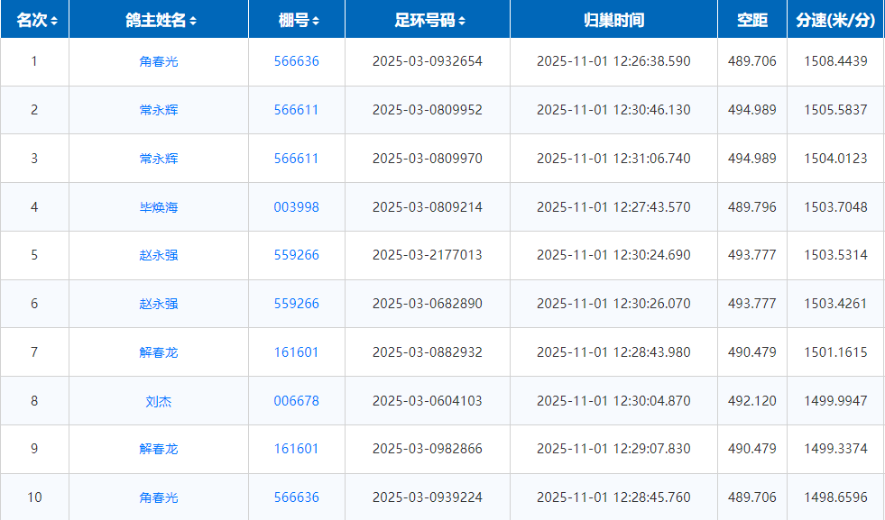
归巢消息:
12时26分,鸽友角春光的一羽2025-03-0932654顺利报进,空距489.706公里,分速1508.4439米/分,斩获第四关冠军。
12时30分,鸽友常永辉一连报进两羽,包揽本关亚军、季军。亚军鸽环号2025-03-0809952,分速1505.5837米/分,空距494.989公里。季军鸽环号2025-03-0809970,分速1504.0123米/分。
12时27分,鸽友毕焕海的一羽2025-03-0809214报进,空距489.796公里,分速1503.7048米/分,拿下本关殿军。在上一关的比拼中,毕焕海斩获了亚季军,此番再拿殿军,实力了得。
截至比赛第二日鸽钟关闭,一共归巢11415羽赛鸽,归巢率87.06%。一起期待下一关决赛!

















