11月15日上午11时03分,云南大理九鼎赛鸽中心一关开笼放飞!本关共计上笼7476羽赛鸽,实际空距184公里。司放地云南普洱镇沅,司放地天气晴,南风1级,气温12-25℃,赛鸽走势良好。
归巢消息:
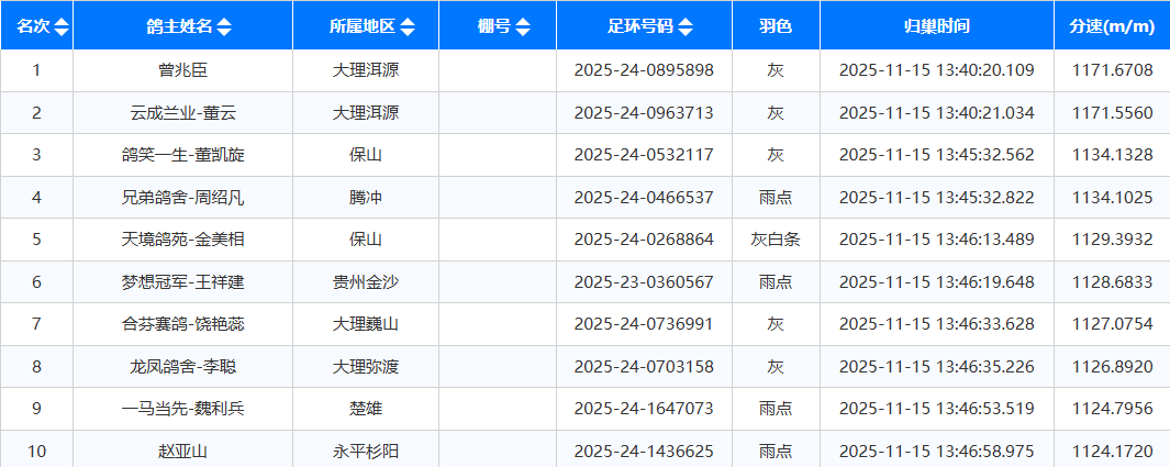
冠军:鸽友曾兆臣的一羽2025-24-0895898灰,于下午13:40:20归巢,分速1171.6708米/分,斩获冠军。
亚军:鸽友云成兰业-董云的一羽2025-24-0963713灰,于下午13:40:21.归巢,分速1171.5560米/分,斩获亚军。
季军:鸽友鸽笑一生-董凯旋的一羽2025-24-0532117灰,于下午13:45:32归巢,分速1134.1328米/分,获得亚军。
截至16日上午10时20分,共归巢5532羽,归巢率74%。
今年是该棚第十一届秋赛,参赛费每羽1300元,举办60公里资格赛、180公里速度赛、240公里预赛、400公里决赛、450公里加站赛与三关综合鸽王赛等。决赛预计取奖600名,冠军30万、亚军20万、季军15万、尾奖1.3万元。
成绩截图














