12月12日上午9时16分,云南大理祥云信鸽协会456公里比赛开笼司放。这场比赛从西双版纳勐腊出发,终点为大理祥云县,横跨云南省南中部地区。比赛共集鸽916羽,截至第二天上午9时10分,仅19羽信鸽成功归巢,归巢率仅2%,最高分速仅900米/分出头。毫无疑问,这是一场极具挑战的高难度比赛。
本次比赛的高难度,主要源于司放地至归巢地之间的地形与温差双重挑战。从勐腊到祥云,信鸽需穿越滇中南复杂山地,途经普洱、墨江、楚雄等地,沿途要翻越哀牢山、无量山等多座山脉。这些区域山体海拔高、地形破碎,信鸽飞行时不仅要频繁调整高度以翻越山体,还要在山峦遮挡中精准辨别方向,对信鸽体能是极大消耗,不少信鸽因难以突破山地阻隔而迷失方向。
南北温差进一步加剧了比赛难度。从当日天气数据来看,勐腊地区气温区间为14-27℃,属于温暖气候;而祥云地区气温仅3-17℃,最低温较勐腊低11℃。信鸽从温暖的南部区域突然进入低温的中部山区,难以快速适应温度变化,不仅会影响飞行状态,还可能因体能调节失衡导致飞行效率下降。
但在这场高难度比赛中,仍就有8羽信鸽凭借出色能力当日归巢,展现了过硬的综合素质。
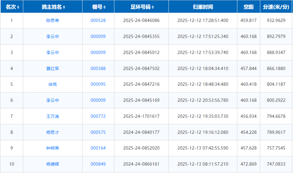
冠军由鸽主陈思寿拿下,赛鸽环号2025-24-0846086,于开笼当天17时28分51秒成功归巢。冠军鸽实际空距459.817公里,分速932.9629米/分,成为当日最早归巢鸽,表现突出。
亚季军均由鸽主李云中斩获。亚军鸽环号为2025-24-0845355,于17时51分25秒归巢,空距 460.168公里,分速892.7979米/分;季军鸽环号2025-24-0845012,于17时53分39秒踩钟,分速 888.9347米/分。前三占两羽,足见李云中鸽友极高的赛鸽水平。
此次祥云县的比赛,再次印证了云南南线的艰难程度。期待未归巢的八百多羽小将们,能够突破地形封锁,成功回家。













