上周末,宁夏鸽界迎来一波赛事高潮,区内多家春棚接连启赛,君翼、国力、赛航春棚先后打响第一关比拼,塞上江南也如期开启热身赛,近4万羽小将振翅起飞,在蓝天下大显身手。经过激烈角逐,各家赛事圆满结束。以下为详细赛况:
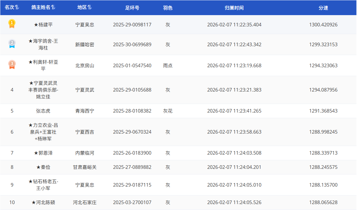
早晨8时46分,宁夏君翼赛鸽春棚第四届春季赛第一关,在甘肃省庆阳市庆城县开笼放飞。比赛集鸽9518羽,参考空距200公里。上午11时22分35秒,鸽友杨建平的一羽灰鸽2025-29-0098117率先归巢,分速1300.4209米/分,获得一关冠军。鸽友海宇鸽舍-王海柱的一羽2025-30-0699689灰随后踩钟报进,分速1299.3231米/分,获得亚军。利奥轩-轩亚平的一羽2025-01-0547540雨点,分速1294.3230米/分,获得季军。截至第三日上午9时,共归巢8857羽赛鸽,归巢率93.1%。比赛直播
早晨8时55分,宁夏国力赛鸽春棚三关鸽王赛第一关,在甘肃省宁县开笼放飞。比赛集鸽9506羽,空距300公里。下午13时02分23秒,鸽友永轩飞鸽舍-唐永的一羽灰鸽2025-05-0172145率先打钟归巢,分速1242.9550米/分,获得一关冠军。鸽友高满义的一羽2025-05-0276798灰,分速1242.7357米/分,获得亚军。锦鹏鸽舍-李辉的一羽2025-29-0002279雨白条,分速1239.1635米/分,获得季军。截至第三日上午9时,共归巢7820羽赛鸽,归巢率超八成。比赛直播
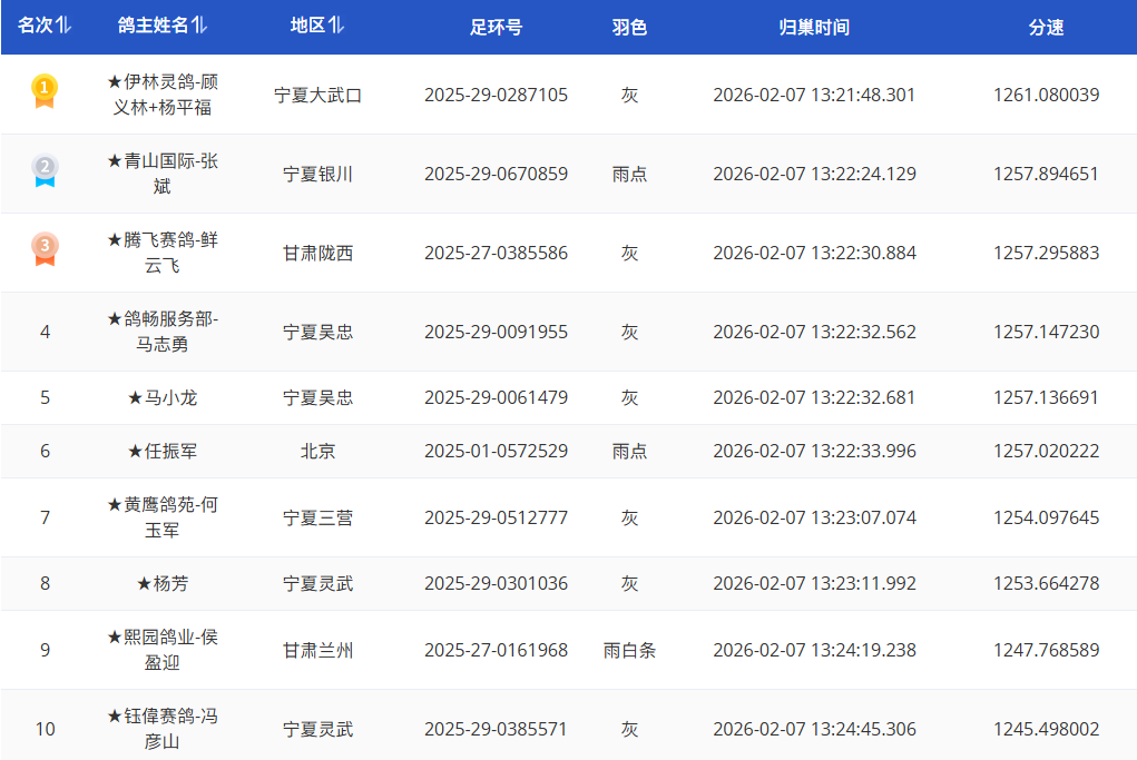
上午9时26分,宁夏赛航春棚第一关在甘肃宁县开笼放飞,比赛集鸽10970羽,参考空距300公里。13时21分48秒,伊林灵鸽-顾义林+杨平福的灰鸽2025-29-0287105率先归巢,以1261.0800米/分的分速斩获冠军。青山国际-张斌的雨点鸽2025-29-0670859,分速1257.8946米/分,斩获亚军。腾飞赛鸽-鲜云飞的灰鸽2025-27-0385586,以1257.2958米/分的分速拿下季军。截至第三日上午9时,共归巢7937羽赛鸽,归巢率72.4%。比赛直播
除此之外,宁夏塞上江南春棚在2月8日迎来热身赛的比拼。上午8时47分,宁夏塞上江南赛鸽公棚180公里热身赛在盐池麻黄山开笼放飞,集鸽9747羽,参考空距183.0220公里。10时35分38秒,红蓝战队-任建国的灰鸽2025290662641率先归巢,以1684.7125米/分的分速夺冠。建翔巨匠-刘建军的雨点鸽2025032534446获得亚军,分速1673.5156米/分。星起点-马麒的麒麟花鸽2025270017124,以1631.5395米/分的分速拿下季军。截至开笼第二日上午9时15分,共4012羽赛鸽归巢,归巢率41.16%。比赛直播
开笼瞬间


















