4月1日,武汉春归公棚80公里资格赛开笼。比赛司放宣化,共集鸽6458羽。司放地今日多云,气温-2-14℃,祝愿小将们能获得好成绩!直播链接>>
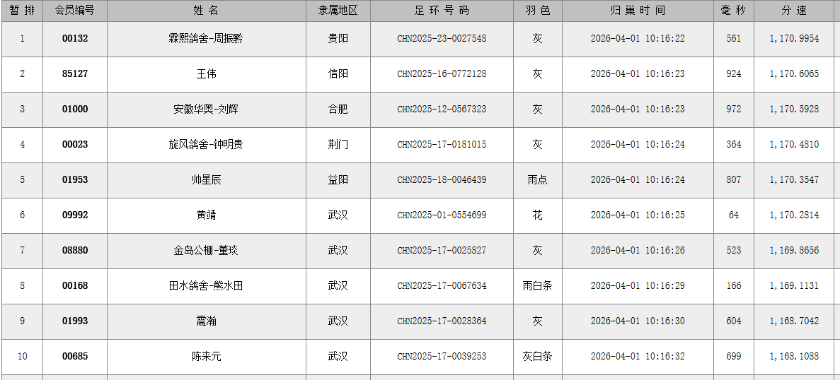
10点出头,赛鸽们纷纷班师回朝,贵阳鸽友霖熙鸽舍-周振黔的CHN2025-23-0027548灰先声夺人拿下冠军,飞行分速1170.9954米/分;
亚军王伟的CHN2025-16-0772128灰,飞行分速1170.6065米/分;
季军由安徽华奥-刘辉的CHN2025-12-0567323灰获得,飞行分速1170.5928米/分。安徽华奥是当之无愧的实力强豪,本次收费站,麾下爱将也是不负众望。值得恭喜!
截至上午11点,已有两千多羽赛鸽归巢,期待更多小将凯旋!
这是武汉春归公棚的首届比赛。参赛费1600/羽,共设有三关,预计在4月下旬结束比赛。决赛取800名,冠军奖金25万元、亚军20万元、季军15万元。
点击查看大图

冠军

亚军

季军












