4月8日清晨6时28分,辽宁鼎信赛鸽春棚400公里第二关比赛,在吉林省长春市南关区开笼放飞。三辆鸽车一字排开,10075羽赛鸽腾空而起,冲向天空。本关实际空距385公里,本是一场速度的较量,不料演变为了一场生死劫。
开笼画面来看,司放地天气晴,风向2-3级,赛鸽走势良好。但天有不测风云,随着时间推移,赛线沿途风力渐大,至上午10点,西南风已狂飙至7-8级,且势头不减。小将们顶着如此大的风阻与天斗,比赛形势不容乐观。
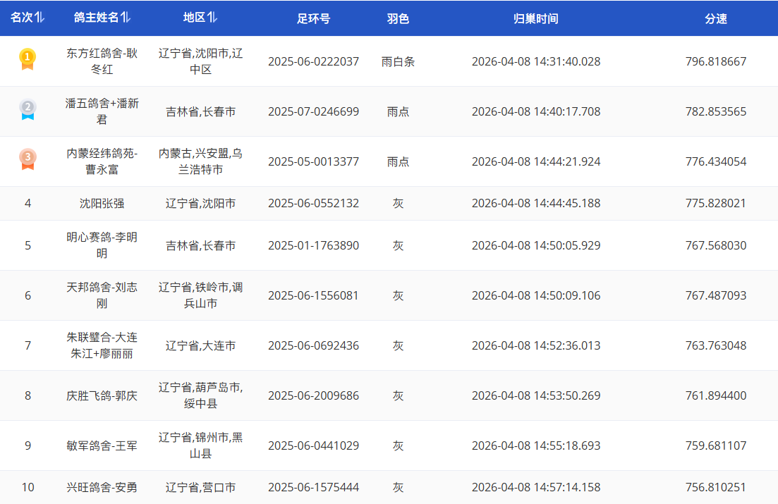
直到下午14时31分40秒,第一羽赛鸽突破阻碍,进棚打钟。东方红鸽舍-耿冬红的一羽2025-06-0222037雨白条率先破风归来,分速796.8186米/分,斩获二关冠军。
九分钟后,14分40分17秒,潘五鸽舍+潘新君的一羽2025-07-0246699雨点报进,分速782.8535米/分,获得亚军。
14时44分21秒,内蒙经纬鸽苑-曹永富的一羽2025-05-0013377雨点报进,分速776.4340米/分,夺得季军。
值得一提的是,鸽友天邦鸽舍-刘志刚在本次艰难比赛中表现亮眼,他本次预赛上笼18羽(今年总计交鸽44羽),凭借过硬的鸽质,一举斩获第6名、第12名、第47名等多个高位名次,前五十占三羽,实力不容小觑。
截至开笼第二日上午9时53分,已有3725羽小将顽强归巢,归巢率37%。期待剩余小将们能够顺归来。
风速图

开笼瞬间
















